Запчасти Komatsu PC100U-3 MACHINERY ОБСТАНОВКА (/)(№-) ЧАСТИ КОРПУСА

Схема запчастей Komatsu PC100U-3 - MACHINERY ОБСТАНОВКА (/)(№-) ЧАСТИ КОРПУСА
FIT
1:1
100%

Артикул

Название

Примечание

Количество

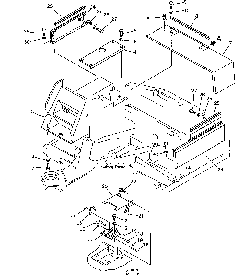
1

202-54-58152

COVER

2

01010-51020

BOLT

3

01643-31032

WASHER

4

203-54-42822

COVER

5

01010-51020

BOLT

6

01643-31032

WASHER

7

203-54-42366

COVER

8

09412-10009

SEAL

9

01010-51020

BOLT

10

01643-31032

WASHER

11

21K-54-26310

BRACKET

12

01010-51020

BOLT

13

01643-31032

WASHER

14

21K-54-26330

PLATE

15

21K-54-26340

LEVER

16

21K-54-26350

SPRING

17

21K-54-26360

SPRING

18

04205-11038

PIN

19

04050-13020

PIN,COTTER

20

21K-54-26291

COVER

21

21K-54-26380

SPRING

22

21K-54-26370

BOLT

23

203-54-42172

COVER

24

202-54-58131

COVER

25

203-54-45720

TRIM

26

203-54-42780

PLATE

27

01010-51020

BOLT

28

01643-31032

WASHER

29

01010-51020

BOLT

30

01643-31032

WASHER

31

205-60-71220

LOCK ASS'Y

Выбрано товаров: 0