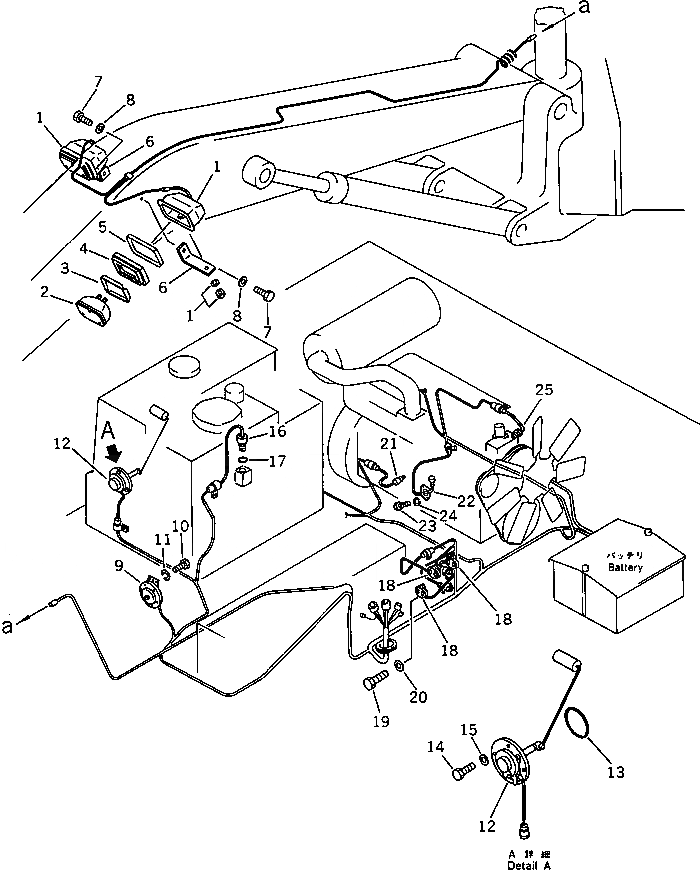
Запчасти Komatsu PC100U-3 ЭЛЕКТРИКА (КОМПОНЕНТЫ) (F/УДЛИНН. РЫЧАГ CONT.) (W/АВТОМАТИЧ.DECEL.¤ ПОВОРОТН. МЕХАНИЧ. ТОРМОЗ.)(№-9) КОМПОНЕНТЫ ДВИГАТЕЛЯ И ЭЛЕКТРИКА

Схема запчастей Komatsu PC100U-3 - ЭЛЕКТРИКА (КОМПОНЕНТЫ) (F/УДЛИНН. РЫЧАГ CONT.) (W/АВТОМАТИЧ.  DECEL.¤ ПОВОРОТН. МЕХАНИЧ. ТОРМОЗ.)(№-9) КОМПОНЕНТЫ ДВИГАТЕЛЯ И ЭЛЕКТРИКА
FIT
1:1
100%

Артикул

Название

Примечание

Количество

|$0

22W-06-12381

LAMP ASS'Y

1

HOUSING

2

22W-06-12170

BULB

3

22W-06-12120

RING

4

22W-06-12290

CUSHION

5

22W-06-12130

RING

6

203-06-41130

BRACKET

7

01010-51430

BOLT

8

01643-31445

WASHER

9

175-06-39170

HORN

10

01010-50816

BOLT

11

01602-20825

WASHER,SPRING

12

7861-99-4700

SENSOR,FUEL LEVEL

13

07000-02085

O-RING

14

01010-51025

BOLT

15

01643-31032

WASHER

16

7861-99-4500

SENSOR,HYDRAULIC OIL

17

07002-23634

O-RING

18

22W-06-15860

SWITCH

19

01010-51035

BOLT

20

01643-31032

WASHER

21

7861-99-1300

SENSOR,OIL PRESSURE

22

203-06-41160

SENSOR,ENGINE OIL LEVEL

23

01010-50816

BOLT

24

01602-20825

WASHER,SPRING

25

7861-99-3300

SENSOR,WATER TEMPERATURE

Выбрано товаров: 26