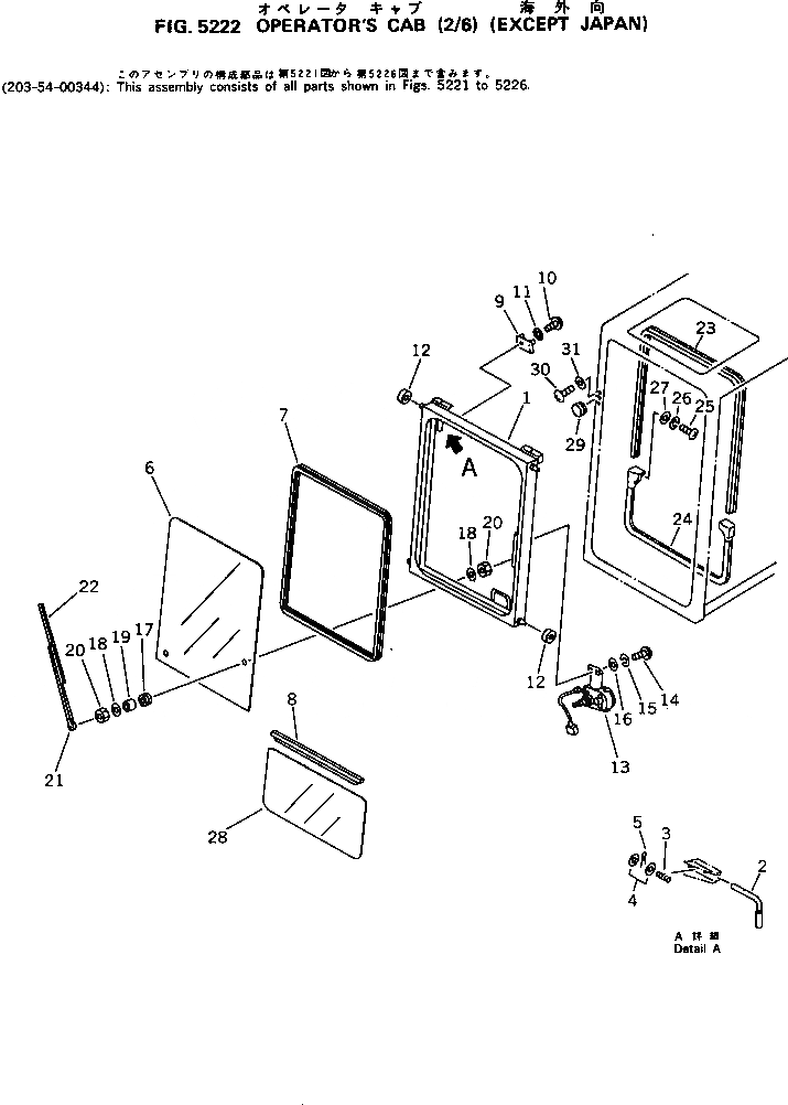
Запчасти Komatsu PC100U-3 КАБИНА (/) (КРОМЕ ЯПОН.)(№-) ЧАСТИ КОРПУСА

Схема запчастей Komatsu PC100U-3 - КАБИНА (/) (КРОМЕ ЯПОН.)(№-) ЧАСТИ КОРПУСА
FIT
1:1
100%

Артикул

Название

Примечание

Количество

|$0

203-54-00344

OPERATOR'S CAB ASS'Y

|$1

20G-54-00031

FRONT WINDOW ASS'Y

1

205-54-43471

WINDOW,FRONT

2

203-54-43650

PIN

3

205-54-66330

SPRING

4

01641-21016

WASHER

5

04050-13018

PIN,COTTER

6

203-54-43560

GLASS

7

205-54-71520

STRIP,WEATHER

8

203-54-43530

SEAL

9

566-54-24511

STRIKER

10

01224-40820

SCREW

11

205-54-72750

WASHER,LOCK

12

205-54-72590

ROLLER

13

203-06-41720

WIPER MOTOR ASS'Y

14

01220-40516

SCREW

15

01601-20513

WASHER,SPRING

16

01641-20508

WASHER

17

205-06-62230

GROMMET

18

205-06-62270

WASHER

19

205-06-62240

COLLAR

20

205-06-62250

NUT

21

205-06-71420

ARM

21A

ND857199-0100

PIN KIT

22

205-06-71430

BLADE

23

203-54-43520

SEAL

24

203-54-43570

STRIP,WEATHER

25

01220-40612

SCREW

26

01601-20619

WASHER,SPRING

27

01643-30623

WASHER

28

203-54-43620

GLASS ASS'Y

29

09415-01008

CAP

30

01220-40412

SCREW

31

01601-20410

WASHER,SPRING

Выбрано товаров: 34