Запчасти Komatsu PC100US-3 СЕРВОКЛАПАН¤ ПЕРЕДН. (/) УПРАВЛ-Е РАБОЧИМ ОБОРУДОВАНИЕМ

Схема запчастей Komatsu PC100US-3 - СЕРВОКЛАПАН¤ ПЕРЕДН. (/) УПРАВЛ-Е РАБОЧИМ ОБОРУДОВАНИЕМ
FIT
1:1
100%

Артикул

Название

Примечание

Количество

|$0

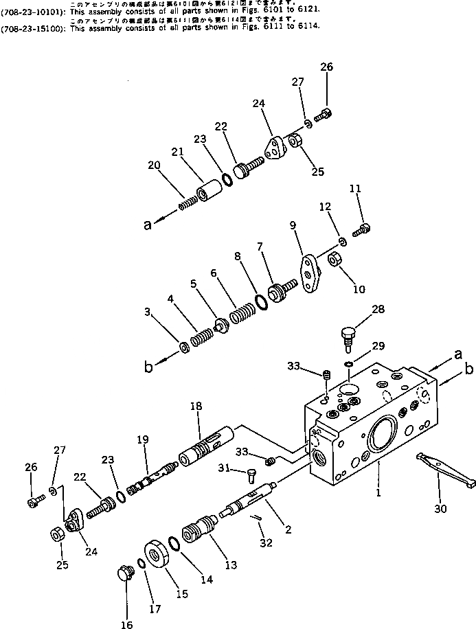
708-23-10101

PUMP ASS'Y (HPV55+55)

|$1

708-23-15100

SERVO VALVE ASS'Y,FRONT

|$2

708-23-15200

SERVO VALVE SUB A.,FRONT

1

BODY

2

PISTON

3

SEAT

4

SPRING

5

SEAT

6

SPRING

7

PLUG

8

O-RING

9

COVER

10

NUT

11

BOLT

12

WASHER,SPRING

13

PLUG

14

O-RING

15

NUT

16

PLUG

17

O-RING

18

SLEEVE

19

SPOOL

20

SPRING

21

SPACER

22

PLUG

23

O-RING

24

COVER

25

NUT

26

BOLT

27

WASHER,SPRING

28

PLUG

29

O-RING

30

ARM

31

PIN

32

PIN,COTTER

33

PLUG

Выбрано товаров: 36