Запчасти Komatsu PC100US-3 CUT OFF И NEGATIVE УПРАВЛЯЮЩ. КЛАПАН¤ ПЕРЕДН. УПРАВЛ-Е РАБОЧИМ ОБОРУДОВАНИЕМ

Схема запчастей Komatsu PC100US-3 - CUT OFF И NEGATIVE УПРАВЛЯЮЩ. КЛАПАН¤ ПЕРЕДН. УПРАВЛ-Е РАБОЧИМ ОБОРУДОВАНИЕМ
FIT
1:1
100%

Артикул

Название

Примечание

Количество

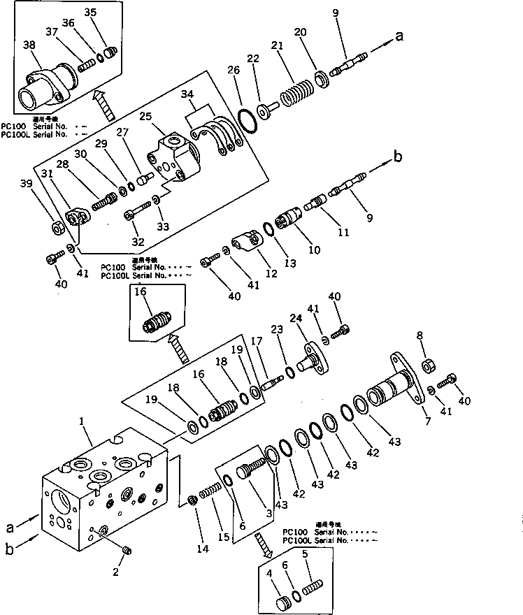
|$0

708-23-10101

PUMP ASS'Y (HPV55+55)

|$1

708-23-15100

SERVO VALVE ASS'Y,FRONT

|$2

708-23-17100

VALVE ASS'Y

1

BODY

2

PLUG

3

PLUG

4

O-RING

5

COVER

6

NUT

7

SPOOL

8

SLEEVE

9

PISTON

10

COVER

11

O-RING

12

SEAT

13

SPRING

14

SLEEVE

15

PISTON

16

O-RING

17

RING,BACK-UP

18

SEAT

19

SPRING

20

SEAT

21

COVER

22

O-RING

23

PISTON

24

PLUG

25

O-RING

26

RING,BACK-UP

27

COVER

28

BOLT

29

BOLT

30

WASHER,SPRING

31

NUT

32

SHIM

32

SHIM

32

SHIM

33

COVER

34

O-RING

35

BOLT

36

WASHER,SPRING

37

O-RING

38

RING,BACK-UP

Выбрано товаров: 43