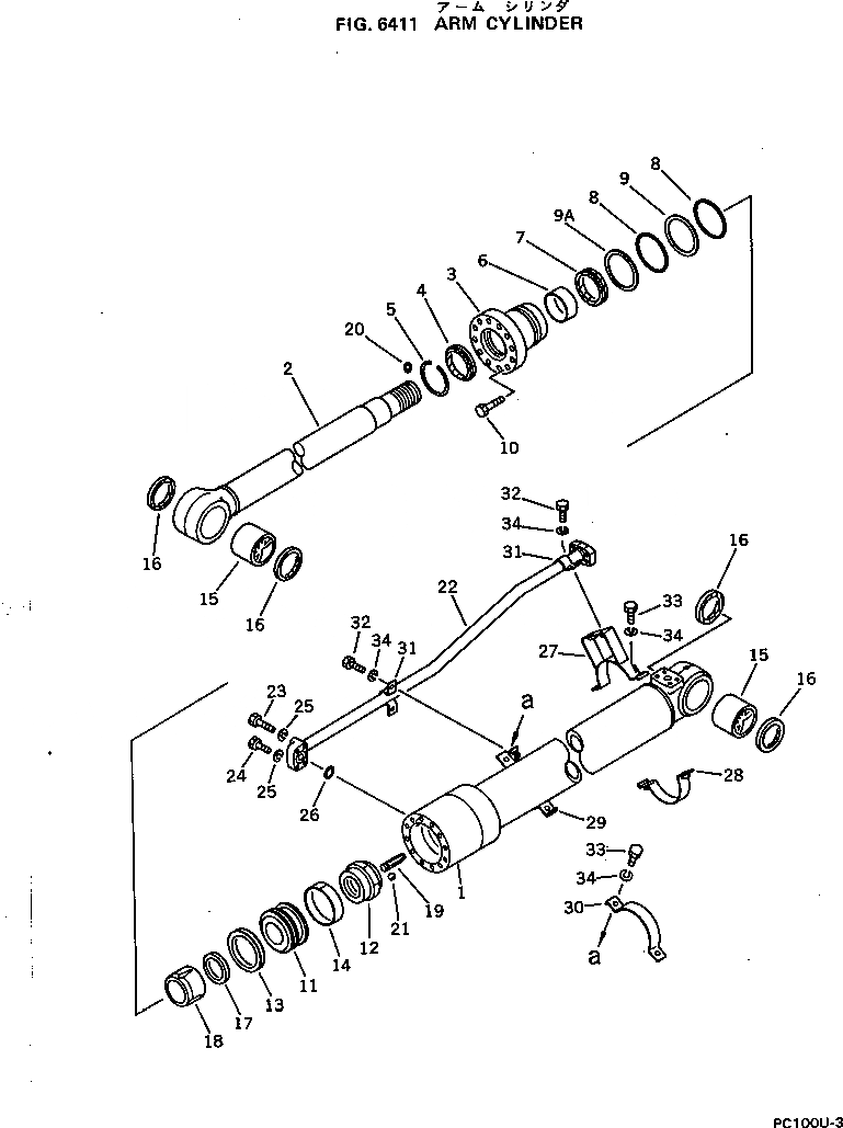
Запчасти Komatsu PC100US-3 ЦИЛИНДР РУКОЯТИ УПРАВЛ-Е РАБОЧИМ ОБОРУДОВАНИЕМ

Схема запчастей Komatsu PC100US-3 - ЦИЛИНДР РУКОЯТИ УПРАВЛ-Е РАБОЧИМ ОБОРУДОВАНИЕМ
FIT
1:1
100%

Артикул

Название

Примечание

Количество

|$0

202-63-62502

ARM CYLINDER ASS'Y

|$1

202-63-62500

ARM CYLINDER ASS'Y

1

202-63-62541

CYLINDER

1

202-63-62540

CYLINDER

2

202-63-62521

ROD,PISTON

2

202-63-62520

ROD,PISTON

3

707-28-11370

HEAD,CYLINDER

4

144-63-94170

SEAL,DUST (KIT)

5

07179-00097

RING,SNAP

6

07177-07530

BUSHING

7

707-51-75211

PACKING,ROD (KIT)

8

07000-12105

O-RING (KIT)

9

07146-02106

RING,BACK-UP (KIT)

9A

707-35-91110

RING,BACK-UP (KIT)

10

01010-51655

BOLT

11

707-36-11461

PISTON

11

707-36-11460

PISTON

12

707-68-10580

NUT

13

707-44-11080

RING,PISTON (KIT)

14

07155-01125

RING,WEAR (KIT)

15

707-76-70130

BUSHING

16

07145-00070

SEAL,DUST (KIT)

17

707-40-11470

RETAINER

18

707-71-50880

PLUNGER

19

707-71-50231

PLUNGER

19

707-71-50230

PLUNGER

20

707-71-91240

SCREW

20

707-71-91250

SCREW

21

04260-00635

BALL

22

202-63-62571

TUBE

22

202-63-62570

TUBE

23

01010-50855

BOLT

24

01010-50845

BOLT

25

01602-20825

WASHER,SPRING

26

07000-13030

O-RING (KIT)

27

707-88-99150

BAND

28

707-88-99120

BAND

29

707-88-99190

BAND

30

707-88-99110

BAND

31

07282-02793

CLAMP

32

01010-51020

BOLT

33

01010-51035

BOLT

34

01602-21030

WASHER,SPRING

Выбрано товаров: 43