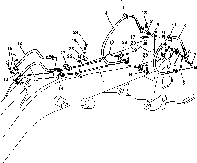
Запчасти Komatsu PC100US-3 ГИДРОЛИНИЯ (РАБОЧЕЕ ОБОРУДОВАНИЕ ПОВОРОТНОЕ СОЕДИНЕНИЕ - ЦИЛИНДР РУКОЯТИ)(№-9) УПРАВЛ-Е РАБОЧИМ ОБОРУДОВАНИЕМ

Схема запчастей Komatsu PC100US-3 - ГИДРОЛИНИЯ (РАБОЧЕЕ ОБОРУДОВАНИЕ ПОВОРОТНОЕ СОЕДИНЕНИЕ - ЦИЛИНДР РУКОЯТИ)(№-9) УПРАВЛ-Е РАБОЧИМ ОБОРУДОВАНИЕМ
FIT
1:1
100%

Артикул

Название

Примечание

Количество

1

202-62-58511

FLANGE

2

202-62-58521

FLANGE

3

07002-12434

O-RING

4

07098-00617

HOSE

5

07000-13025

O-RING

6

07371-30638

FLANGE,SPLIT

7

01010-50830

BOLT

8

01602-20825

WASHER,SPRING

9

202-62-58752

TUBE,L.H.

9

202-62-58751

TUBE,L.H.

10

202-62-58762

TUBE,R.H.

10

202-62-58761

TUBE,R.H.

11

07098-00609

HOSE

12

07099-00609

HOSE

13

07000-13025

O-RING

14

07371-30638

FLANGE,SPLIT

15

01010-50830

BOLT

16

01602-20825

WASHER,SPRING

17

202-62-58710

PLATE

18

07283-22236

CLIP

19

01599-01011

NUT

20

01643-31032

WASHER

21

08034-00834

BAND

22

203-62-43380

CUSHION

23

203-62-43360

CLAMP

24

01010-51270

BOLT

25

01643-31232

WASHER

Выбрано товаров: 0