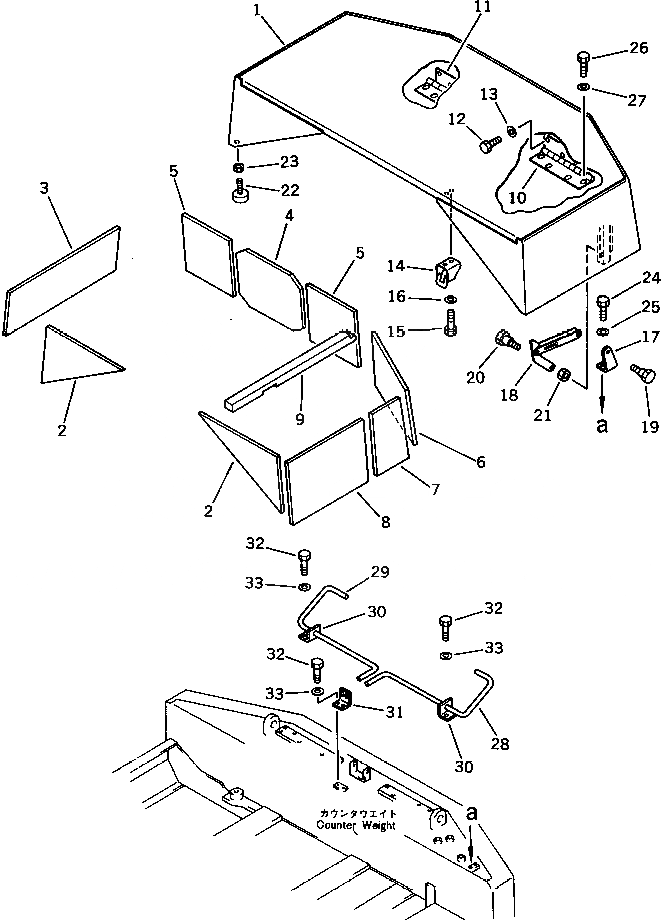
Запчасти Komatsu PC100US-3 MACHINERY ОБСТАНОВКА (/) ЧАСТИ КОРПУСА

Схема запчастей Komatsu PC100US-3 - MACHINERY ОБСТАНОВКА (/) ЧАСТИ КОРПУСА
FIT
1:1
100%

Артикул

Название

Примечание

Количество

|$0

202-54-00800

MACHINE CAB ASS'Y

1

203-54-45510

HOOD ASS'Y

1

HOOD

2

203-54-44740

SHEET

3

203-54-44771

HINGE

4

203-54-45520

SHEET

5

203-54-45530

SHEET

6

203-54-44811

CAP

7

203-54-44751

BRACKET

8

203-54-44760

SHEET

9

203-54-42860

SHEET

10

203-54-44950

HINGE,L.H.

11

203-54-44960

HINGE,R.H.

12

01010-51020

BOLT

13

01643-31032

WASHER

14

203-54-42350

BRACKET

15

01010-51020

BOLT

16

01643-31032

WASHER

17

203-54-42242

BRACKET

18

20R-54-21430

STAY

19

20R-54-21440

BOLT

20

20R-54-24500

PLATE

21

01580-11008

NUT

22

201-54-21360

CUSHION

23

01580-10504

NUT

24

01010-51025

BOLT

25

01643-31032

WASHER

26

01010-51020

BOLT

27

144-854-1890

WASHER,TORSION, L.H.

28

21K-54-26250

BAR,TORSION, R.H.

29

21K-54-26260

BAR

30

203-54-45180

PLATE

31

203-54-45190

PLATE

32

01010-51025

BOLT

33

01643-31032

WASHER

Выбрано товаров: 35