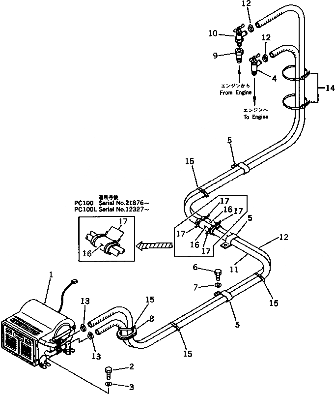
Запчасти Komatsu PC100US-3 ОБОГРЕВАТЕЛЬ. (ДЛЯ УДЛИНН. РЫЧАГ УПРАВЛ-Е) ЧАСТИ КОРПУСА

Схема запчастей Komatsu PC100US-3 - ОБОГРЕВАТЕЛЬ. (ДЛЯ УДЛИНН. РЫЧАГ УПРАВЛ-Е) ЧАСТИ КОРПУСА
FIT
1:1
100%

Артикул

Название

Примечание

Количество

1

205-977-K110

HEATER ASS'Y

1

205-977-7110

HEATER UNIT

2

01010-51025

BOLT

3

01602-21030

WASHER,SPRING

4

203-944-4130

VALVE

4

201-54-24130

VALVE

5

176-911-4170

CLIP

6

01010-51020

BOLT

7

01602-21030

WASHER,SPRING

8

176-911-4160

GROMMET

9

20R-54-19150

JOINT

10

20R-54-19111

VALVE

11

09483-00432

HOSE

11

09483-00485

HOSE

12

09483-00430

HOSE

12

09483-00433

HOSE

13

07281-00259

CLAMP

14

08034-00536

BAND

15

08034-00519

BAND

16

203-62-41150

COVER

16

203-04-31230

COVER

17

08034-00519

BAND

17

08034-00519

BAND

Выбрано товаров: 23