Качественные детали и логистика
Оригинальные и аналоговые запчасти с доставкой по России, Казахстану и Беларуси
©2022 PartSell ООО "Система" ИНН 2463123282 ОГРН 1212400004838
Центральный офис: г. Красноярск, Академика Киренского, д.87, пом.4
Телефон: 8 (800) 777-65-74 Email: zakaz@partsell.ru
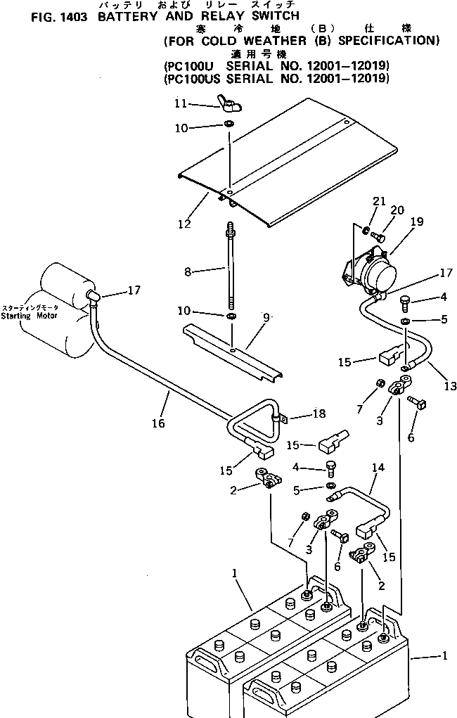
АККУМУЛЯТОР И РЕЛЕ (МОРОЗОУСТОЙЧИВ. СПЕЦ-Я)(№-9)
№
Артикул
Название
Примечание
Количество
1
08000-32215
BATTERY (145F51)
2
08000-00000
TERMINAL¤ (+)
3
08000-00001
TERMINAL¤ (-)
4
01050-31018
BOLT
5
01640-01016
WASHER
6
01010-30830
7
01580-00806
NUT
8
203-09-31120
9
203-06-31222
CLAMP
10
01643-31232
11
01541-21260
12
203-06-31212
COVER
13
08028-12045
CABLE
14
08028-12015
15
08038-22009
CAP,TERMINAL
16
203-06-41620
WIRE
17
08038-04030
CAP
18
08036-11214
CLIP
19
08088-10000
SWITCH
20
01010-50816
21
01602-20825
WASHER,SPRING
22
6130-81-9910
PLATE¤ CAUTION,(NOT SHOWN)
Выбрано товаров: 0