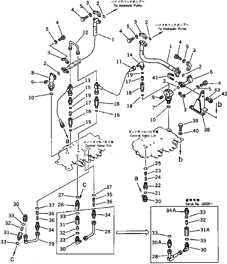
Запчасти Komatsu PC100US-3 ГИДРОЛИНИЯ (НАСОС - УПРАВЛЯЮЩ. КЛАПАН) УПРАВЛ-Е РАБОЧИМ ОБОРУДОВАНИЕМ

Схема запчастей Komatsu PC100US-3 - ГИДРОЛИНИЯ (НАСОС - УПРАВЛЯЮЩ. КЛАПАН) УПРАВЛ-Е РАБОЧИМ ОБОРУДОВАНИЕМ
FIT
1:1
100%

Артикул

Название

Примечание

Количество

1

07097-00611

HOSE

2

07000-13025

O-RING

3

07371-30638

FLANGE,SPLIT

4

01010-50830

BOLT

5

01602-20825

WASHER,SPRING

6

202-60-58330

TUBE

7

203-62-42611

ELBOW

8

203-62-44310

ELBOW

9

07042-30108

PLUG

10

07002-13334

O-RING

11

203-62-42661

TUBE

12

203-62-42691

TUBE

13

203-62-42671

TUBE

14

07235-10422

ELBOW

15

07230-10422

UNION

16

203-62-42710

BODY

17

203-62-42720

VALVE

18

203-62-42510

NIPPLE

19

07002-12034

O-RING

20

203-62-42751

ELBOW

21

07002-12034

O-RING

22

203-62-42731

NIPPLE

23

203-62-42741

VALVE

24

203-62-44811

SPRING

|24

700-42-31470

SPRING

25

07002-13034

O-RING

26

202-62-58180

ELBOW

27

07002-12034

O-RING

28

202-62-58191

TUBE

|28

202-62-58190

TUBE

29

202-62-58220

TUBE

30

07235-10315

ELBOW

30A

07230-10315

UNION

31

203-62-42710

BODY

|31

203-62-42710

BODY

31A

202-62-58430

BODY

32

203-62-42720

VALVE

33

07002-12034

O-RING

|33

07002-12034

O-RING

34

203-62-44174

NIPPLE

|34

203-62-44173

NIPPLE

34A

203-62-43840

NIPPLE

35

203-62-42741

VALVE

36

203-62-44811

SPRING

|36

700-42-31470

SPRING

37

07002-13034

O-RING

38

202-62-58340

BRACKET

39

01010-51235

BOLT

40

01643-31232

WASHER

41

07283-22738

CLIP

42

01599-01011

NUT

43

01643-31032

WASHER

Выбрано товаров: 0