Запчасти Komatsu PC100US-3 ПОВОРОТ СТРЕЛЫ KICK OUT (/) СИСТЕМА УПРАВЛЕНИЯ И ОСНОВНАЯ РАМА

Схема запчастей Komatsu PC100US-3 - ПОВОРОТ СТРЕЛЫ KICK OUT (/) СИСТЕМА УПРАВЛЕНИЯ И ОСНОВНАЯ РАМА
FIT
1:1
100%

Артикул

Название

Примечание

Количество

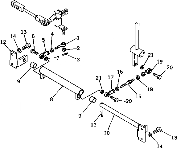
1

04252-21061

END,ROD

2

01593-11008

NUT

3

04050-12018

PIN,COTTER

4

01582-11008

NUT

5

04250-41056

END,ROD

6

01010-51030

BOLT

7

04254-41032

SPACER

8

202-43-58140

LEVER

9

09350-02220

BUSHING

10

202-43-58150

SHAFT

11

04050-13035

PIN,COTTER

12

202-43-58110

BRACKET

13

01010-51025

BOLT

14

01643-31032

WASHER

15

04248-31011

ROD

16

01508-21006

NUT,L.H. THREAD

17

04250-61056

END,ROD¤ L.H. THREAD

18

01582-11008

NUT

19

04250-51056

END,ROD

20

01010-51030

BOLT

21

04254-41032

SPACER

Выбрано товаров: 21