Качественные детали и логистика
Оригинальные и аналоговые запчасти с доставкой по России, Казахстану и Беларуси
©2022 PartSell ООО "Система" ИНН 2463123282 ОГРН 1212400004838
Центральный офис: г. Красноярск, Академика Киренского, д.87, пом.4
Телефон: 8 (800) 777-65-74 Email: zakaz@partsell.ru
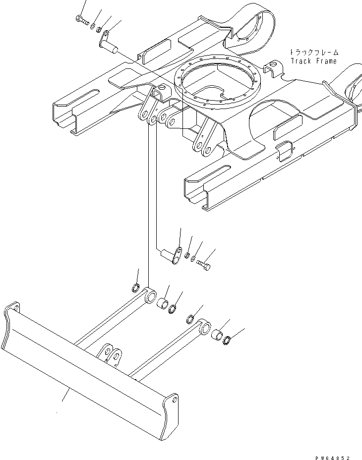
ОТВАЛ (ОТВАЛ И ПАЛЕЦ) (ФИКС. GAUGE)
№
Артикул
Название
Примечание
Количество
|1
22J-71-11010
BLADE ASS'Y
1
BLADE
2
20A-70-11120
BUSHING
3
20A-70-12221
SEAL,DUST
4
22J-71-11130
PIN
5
22J-70-11550
COLLAR
6
01010-81020
BOLT
7
01643-31032
WASHER
Выбрано товаров: 0