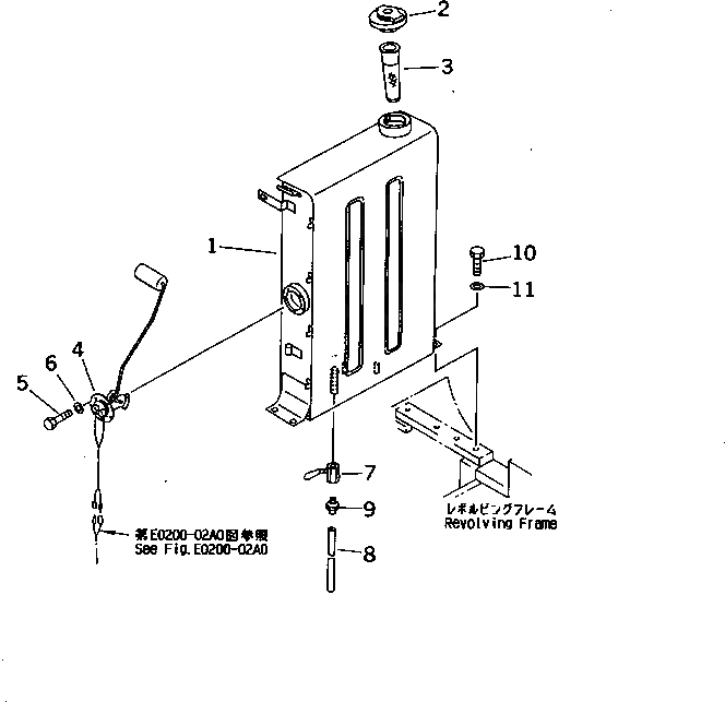
Запчасти Komatsu PC10N-7 ТОПЛИВН. БАК. ТОПЛИВН. БАК. AND КОМПОНЕНТЫ

Схема запчастей Komatsu PC10N-7 - ТОПЛИВН. БАК. ТОПЛИВН. БАК. AND КОМПОНЕНТЫ
FIT
1:1
100%

Артикул

Название

Примечание

Количество

1

20N-04-78111

TANK

2

20M-04-71160

CAP

3

07056-10045

STRAINER

4

20N-06-71241

FLOAT,FUEL LEVEL

5

01220-70510

SCREW

6

01641-40508

WASHER

7

07700-40240

VALVE

8

07270-01230

TUBE

9

113-04-22150

NIPPLE

10

01010-51220

BOLT

11

01643-31232

WASHER

Выбрано товаров: 11