Запчасти Komatsu PC10N-7 ЦИЛИНДР КОВША РАБОЧЕЕ ОБОРУДОВАНИЕ

Схема запчастей Komatsu PC10N-7 - ЦИЛИНДР КОВША РАБОЧЕЕ ОБОРУДОВАНИЕ
FIT
1:1
100%

Артикул

Название

Примечание

Количество

G1

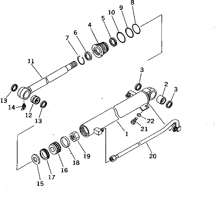
20N-63-X2430

CYLINDER GROUP

|1

20N-63-02430

CYLINDER ASS'Y

1

20N-63-77440

CYLINDER

2

07143-10303

BUSHING

3

07145-00030

SEAL,DUST (K4)

4

707-29-60320

HEAD,CYLINDER

5

707-51-35210

PACKING,ROD (K4)

6

175-63-75190

SEAL,DUST (K4)

7

07179-12047

RING,SNAP

8

07000-12055

O-RING (K4)

9

07146-02056

RING,BACK-UP (K4)

10

07000-02060

O-RING (K4)

11

20N-63-77420

ROD,PISTON

12

07144-10303

BUSHING

13

07145-00030

SEAL,DUST (K4)

14

07020-00675

FITTING,GREASE

15

707-40-90040

RETAINER

16

707-36-60150

PISTON

17

707-44-60180

RING,PISTON (K4)

18

707-39-60190

RING,WEAR (K4)

19

01580-02722

NUT

20

20N-63-77470

TUBE

21

01010-51020

BOLT

22

01643-31032

WASHER

Выбрано товаров: 24