Качественные детали и логистика
Оригинальные и аналоговые запчасти с доставкой по России, Казахстану и Беларуси
©2022 PartSell ООО "Система" ИНН 2463123282 ОГРН 1212400004838
Центральный офис: г. Красноярск, Академика Киренского, д.87, пом.4
Телефон: 8 (800) 777-65-74 Email: zakaz@partsell.ru
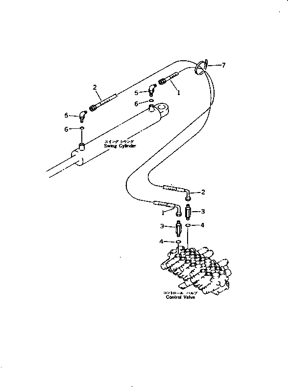
ГИДРОЛИНИЯ (ЦИЛИНДР ПОВОРОТА СТРЕЛЫ ЛИНИЯ)
№
Артикул
Название
Примечание
Количество
1
20P-62-72566
HOSE
2
20P-62-72556
3
20M-62-32760
NIPPLE,(FOR 20P-62-72566 HOSE)
|3
20N-62-44350
NIPPLE,(FOR 20P-62-72556 HOSE)
4
07002-11823
O-RING
5
07235-10210
ELBOW
6
07002-11423
7
08034-00536
BAND
Выбрано товаров: 0