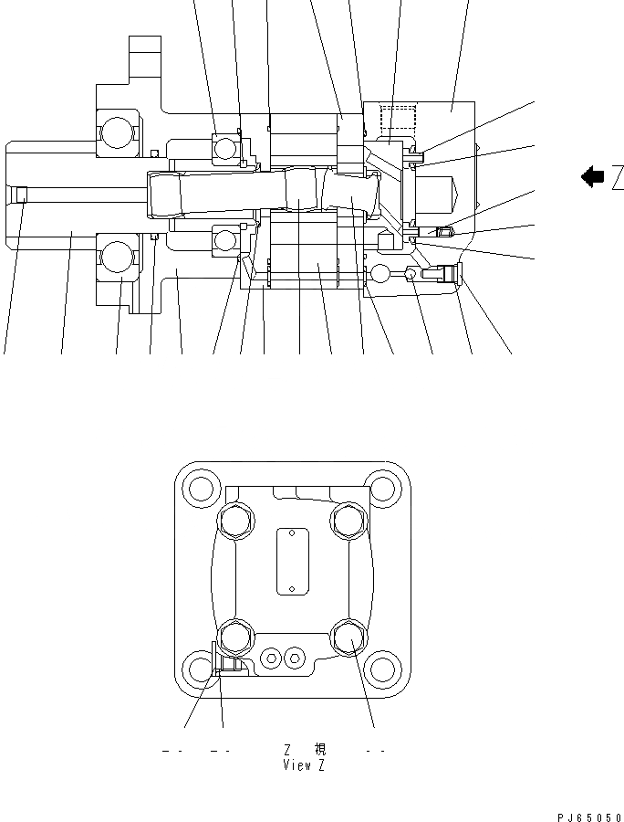
Запчасти Komatsu PC10N-7 МОТОР ПОВОРОТА (ВНУТР. ЧАСТИ) ПОВОРОТН. КРУГ И КОМПОНЕНТЫ

Схема запчастей Komatsu PC10N-7 - МОТОР ПОВОРОТА (ВНУТР. ЧАСТИ) ПОВОРОТН. КРУГ И КОМПОНЕНТЫ
1
2
3
4
5
6
7
8
9
10
11
12
13
14
15
16
17
18
19
20
21
22
23
24
25
26
27
28
29
30
FIT
1:1
100%

Артикул

Название

Примечание

Количество

|1

20N-60-71505

MOTOR

1

20M-60-73210

HOUSING,BEARING

2

20N-60-71600

GEAR,PINION

3

20M-60-73230

BEARING

4

20M-60-63140

BEARING

5

20M-60-73240

X-RING

6

20M-60-63150

RING,RETAINER

7

20N-60-16120

RING

8

07043-A0108

PLUG

9

20N-60-16150

SEAL

10

20M-60-73250

PLATE

11

20N-60-16120

RING

12

20M-60-73260

PLATE

13

20N-60-16170

RING

14

20M-60-73270

VALVE

15

20M-60-73280

PLATE

16

20N-60-16260

SPRING

17

20N-60-16190

SEAL,INNER

18

20N-60-16270

PIN

19

20N-60-16180

SEAL,OUTER

20

20N-60-46350

VALVE,DRIVE

21

20M-60-73310

FLANGE

22

20N-60-16310

VALVE,DRIVE

23

20N-60-16160

RING

24

20N-60-16320

HOUSING,VALVE

25

20N-60-16330

BALL

26

20N-60-16340

PLUG

27

20N-60-16220

O-RING

28

20N-60-16230

PLUG

29

20N-60-16210

O-RING

30

20N-60-16410

BOLT

Выбрано товаров: 31