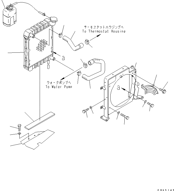
Запчасти Komatsu PC10UU-3 ОХЛАЖД-Е (РАДИАТОР И КОМПОНЕНТЫ) СИСТЕМА ОХЛАЖДЕНИЯ

Схема запчастей Komatsu PC10UU-3 - ОХЛАЖД-Е (РАДИАТОР И КОМПОНЕНТЫ) СИСТЕМА ОХЛАЖДЕНИЯ
1
2
3
4
5
5
6
7
8
9
10
10
11
11
12
13
14
15
16
17
18
FIT
1:1
100%

Артикул

Название

Примечание

Количество

1

21S-03-22102

RADIATOR ASS'Y

|1

201-03-51310

CAP

2

20A-03-21114

SHROUD

|2

20A-03-21113

SHROUD

3

01010-80660

BOLT

4

01010-80616

BOLT

5

01643-30623

WASHER

6

01010-81025

BOLT

7

01643-31032

WASHER

8

22J-03-11121

HOSE

9

22J-03-11171

HOSE

10

07281-00359

CLAMP

11

07281-00419

CLAMP

12

20A-03-17400

TANK

13

22J-03-11143

PLATE

14

22J-03-11150

SHEET

15

01010-80816

BOLT

16

01643-30823

WASHER

17

20A-03-21152

GUARD,FAN

|17

20A-03-21151

GUARD,FAN

18

01435-00816

BOLT

Выбрано товаров: 21