Запчасти Komatsu PC1100-6 ОСНОВН. КОНСТРУКЦИЯ (ПРАВ. СТОЙКА) (СТОЙКА¤ РАМА И РЕГУЛЯТОР) (ДЛЯ ВЫС. КАБИНА) (ДЛЯ ПОГРУЗ.)(№8-) КАБИНА ОПЕРАТОРА И СИСТЕМА УПРАВЛЕНИЯ

Схема запчастей Komatsu PC1100-6 - ОСНОВН. КОНСТРУКЦИЯ (ПРАВ. СТОЙКА) (СТОЙКА¤ РАМА И РЕГУЛЯТОР) (ДЛЯ ВЫС. КАБИНА) (ДЛЯ ПОГРУЗ.)(№8-) КАБИНА ОПЕРАТОРА И СИСТЕМА УПРАВЛЕНИЯ
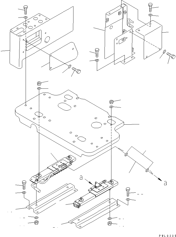
1
2
3
4
5
6
7
8
8
9
9
10
11
12
13
14
15
16
17
18
19
20
21
22
23
24
25
26
27
28
28
29
29
FIT
1:1
100%

Артикул

Название

Примечание

Количество

1

208-43-67110

COVER

2

208-43-61120

COVER

3

01010-80820

BOLT

4

01643-30823

WASHER

5

01010-81025

BOLT

6

01643-31032

WASHER

7

207-43-61160

FRAME

8

01582-11008

NUT

9

01643-31032

WASHER

10

207-43-61140

ADJUSTER

11

01582-11008

NUT

12

01643-31032

WASHER

13

20Y-43-22320

PLATE

14

20Y-43-22540

WIRE

15

01640-20816

WASHER

16

01010-81025

BOLT

17

01643-31032

WASHER

18

207-43-61130

ADJUSTER

19

01582-11008

NUT

20

01643-31032

WASHER

21

20Y-43-22320

PLATE

22

01010-81025

BOLT

23

01643-31032

WASHER

24

20Y-43-21884

COVER

24

20Y-43-21883

COVER

25

01010-81225

BOLT

26

01643-31232

WASHER

27

20Y-43-21970

COVER

28

01010-80816

BOLT

29

01643-30823

WASHER

Выбрано товаров: 0