Запчасти Komatsu PC1100-6 ТОПЛИВН. БАК.(№-) ТОПЛИВН. БАК. AND КОМПОНЕНТЫ

Схема запчастей Komatsu PC1100-6 - ТОПЛИВН. БАК.(№-) ТОПЛИВН. БАК. AND КОМПОНЕНТЫ
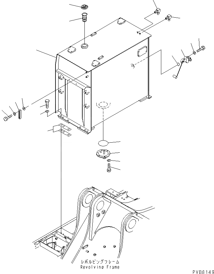
1
2
3
3
4
4
5
6
7
8
9
10
11
12
13
14
15
16
17
18
FIT
1:1
100%

Артикул

Название

Примечание

Количество

1

21N-04-31111

TANK

2

07056-18416

STRAINER

2

205-04-71140

STRAINER

3

20Y-04-21220

GAUGE

3

21S-04-11151

GAUGE

4

20N-60-41371

GASKET

5

07091-21200

CAP

5

20Y-04-11160

CAP

6

21N-04-31121

FLANGE

7

01010-81235

BOLT

8

01643-31232

WASHER

9

07000-15170

O-RING

10

7861-92-5810

SENSOR

11

07000-13050

O-RING

12

01010-80612

BOLT

13

01643-30623

WASHER

14

01010-82080

BOLT

15

01643-32060

WASHER

16

154-865-1240

ELBOW

17

205-62-53890

ELBOW

18

21N-04-31130

PLATE

Выбрано товаров: 21