Запчасти Komatsu PC1100-6 ОСНОВН. КЛАПАН (NO. КЛАПАН И СОЕДИНИТ. ЧАСТИ) (ДЛЯ УДЛИНН. РУКОЯТИ) ГИДРАВЛИКА

Схема запчастей Komatsu PC1100-6 - ОСНОВН. КЛАПАН (NO. КЛАПАН И СОЕДИНИТ. ЧАСТИ) (ДЛЯ УДЛИНН. РУКОЯТИ) ГИДРАВЛИКА
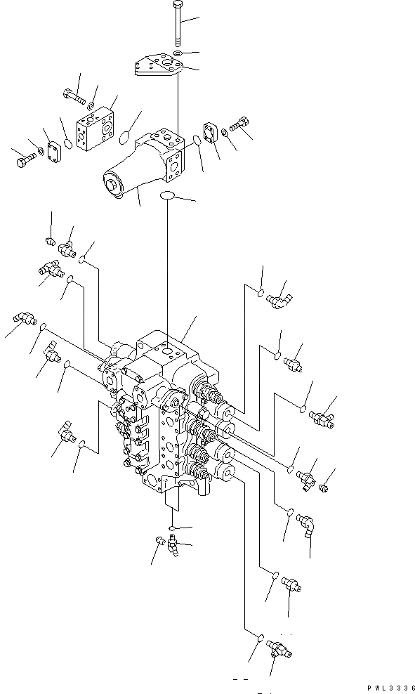
1
2
3
4
5
6
7
8
9
10
11
12
13
14
15
16
17
18
19
20
21
22
23
24
25
26
27
28
29
30
31
32
33
34
35
36
37
38
39
40
41
42
43
44
45
46
47
FIT
1:1
100%

Артикул

Название

Примечание

Количество

1

709-14-93403

CONTROL VALVE

|1

709-14-93402

CONTROL VALVE

2

21N-62-31201

FILTER ASS'Y

3

207-62-56190

FLANGE

4

21T-09-11470

O-RING

5

07372-21040

BOLT

6

01643-51032

WASHER

7

21T-09-11510

O-RING

8

209-62-78940

ELBOW

9

07042-30108

PLUG

10

07002-12034

O-RING

11

21N-62-36110

UNION

12

07002-12034

O-RING

13

209-62-57210

TEE

14

07002-12034

O-RING

15

209-62-27580

TEE

16

07002-12034

O-RING

17

07230-20315

UNION

18

07002-12034

O-RING

19

07235-10315

ELBOW

20

07002-12034

O-RING

21

209-62-57210

TEE

22

07002-12034

O-RING

23

07235-10315

ELBOW

24

07002-12034

O-RING

25

07235-10311

ELBOW

26

07002-11423

O-RING

27

209-62-78940

ELBOW

28

07042-30108

PLUG

29

07002-12034

O-RING

30

21N-62-36170

ELBOW

31

07002-12034

O-RING

32

07235-10311

ELBOW

33

07002-11423

O-RING

34

209-62-67470

ELBOW

35

07042-30108

PLUG

36

07002-11423

O-RING

37

21N-62-33260

BLOCK

38

21T-09-11510

O-RING

39

01010-81480

BOLT

40

01643-31445

WASHER

41

207-62-56190

FLANGE

42

21T-09-11470

O-RING

43

07372-21040

BOLT

44

01643-51032

WASHER

45

21N-62-33280

BRACKET

46

01011-81490

BOLT

47

01643-31445

WASHER

Выбрано товаров: 48