Качественные детали и логистика
Оригинальные и аналоговые запчасти с доставкой по России, Казахстану и Беларуси
©2022 PartSell ООО "Система" ИНН 2463123282 ОГРН 1212400004838
Центральный офис: г. Красноярск, Академика Киренского, д.87, пом.4
Телефон: 8 (800) 777-65-74 Email: zakaz@partsell.ru
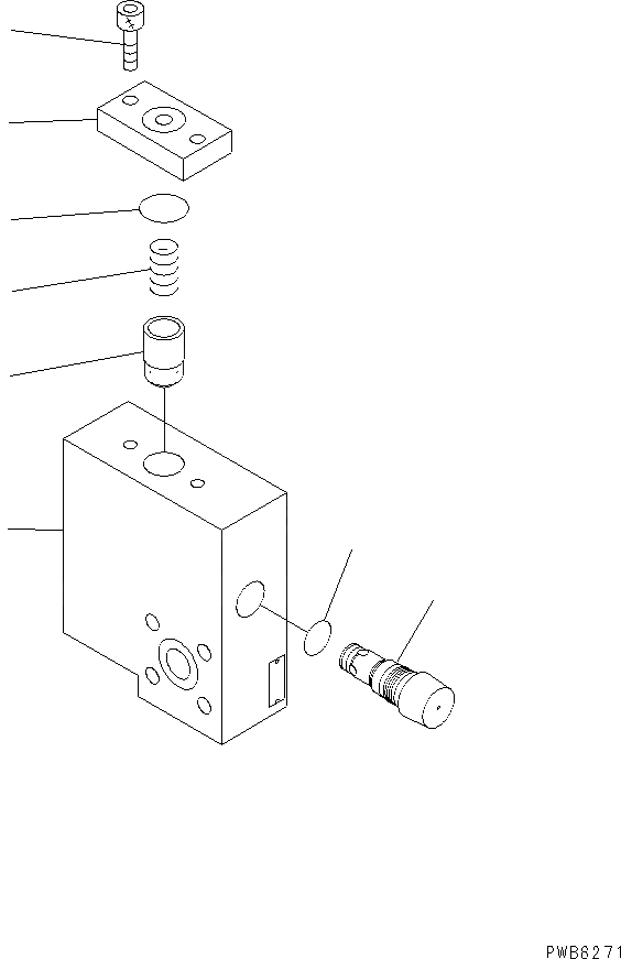
ГЛАВН. РАЗГРУЗ. КЛАПАН
№
Артикул
Название
Примечание
Количество
|$0
21N-60-32201
VALVE ASS'Y
1
BODY
2
21N-60-32211
3
UC1100540292
COVER
4
PLUNGER
5
UC1100531528
SPRING
6
UC1301590009
BOLT
7
UC1301243006
O-RING
8
07000-03035
Выбрано товаров: 0