Запчасти Komatsu PC1100SP-6 ОХЛАЖД-Е (РАДИАТОР И МАСЛООХЛАДИТЕЛЬ) (WIND-ТОРМОЗ.R) (TROPICAL WEATHER СПЕЦ-Я.)(№-7) СИСТЕМА ОХЛАЖДЕНИЯ

Схема запчастей Komatsu PC1100SP-6 - ОХЛАЖД-Е (РАДИАТОР И МАСЛООХЛАДИТЕЛЬ) (WIND-ТОРМОЗ.R) (TROPICAL WEATHER СПЕЦ-Я.)(№-7) СИСТЕМА ОХЛАЖДЕНИЯ
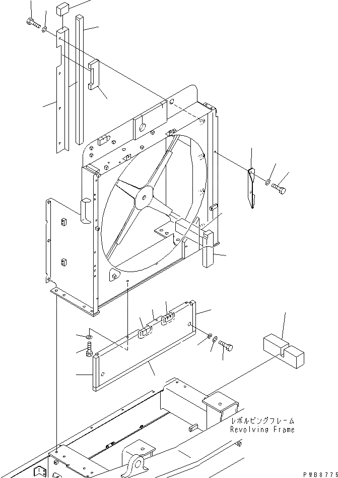
1
2
3
4
5
6
7
8
9
10
11
12
13
14
15
16
17
18
19
20
21
22
23
FIT
1:1
100%

Артикул

Название

Примечание

Количество

1

21N-03-32310

WIND-BRAKER

2

21N-03-31650

SHEET

3

21N-03-31680

SHEET

4

21N-03-31731

SHEET

5

21N-03-31740

SHEET

6

21N-03-32320

SHEET

7

01010-81220

BOLT

8

01643-31232

WASHER

9

01010-81230

BOLT

10

01643-31232

WASHER

11

203-54-62670

COLLAR

12

21N-03-32170

SHEET

13

21N-03-32190

SHEET

14

21N-03-32330

SHEET

15

21N-03-32260

COVER

16

21N-03-32270

SHEET

17

21N-03-32280

SHEET

18

21N-03-32290

SHEET

19

01010-81225

BOLT

20

01643-31232

WASHER

21

21N-03-32340

COVER

22

01010-81230

BOLT

23

01643-31232

WASHER

Выбрано товаров: 23