Запчасти Komatsu PC1100SP-6 ОХЛАЖД-Е (WIND-ТОРМОЗ.R) (ДЛЯ РАДИАТОРА)(№8-) СИСТЕМА ОХЛАЖДЕНИЯ

Схема запчастей Komatsu PC1100SP-6 - ОХЛАЖД-Е (WIND-ТОРМОЗ.R) (ДЛЯ РАДИАТОРА)(№8-) СИСТЕМА ОХЛАЖДЕНИЯ
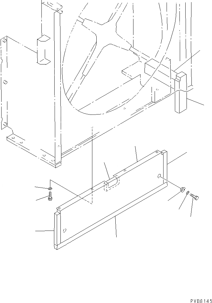
1
2
3
4
5
6
7
8
9
10
11
12
FIT
1:1
100%

Артикул

Название

Примечание

Количество

1

21N-03-31721

WIND-BRAKER

2

21N-03-31650

SHEET

3

21N-03-31680

SHEET

4

21N-03-31731

SHEET

5

21N-03-31740

SHEET

6

01010-81220

BOLT

7

01643-31232

WASHER

8

01010-81230

BOLT

9

01643-31232

WASHER

10

203-54-62670

COLLAR

11

21N-03-32170

SHEET

12

21N-03-32190

SHEET

Выбрано товаров: 12