Запчасти Komatsu PC120-1 ЗАЩИТА ГУСЕН. РАМЫ ОПЦИОННЫЕ КОМПОНЕНТЫ

Схема запчастей Komatsu PC120-1 - ЗАЩИТА ГУСЕН. РАМЫ ОПЦИОННЫЕ КОМПОНЕНТЫ
FIT
1:1
100%

Артикул

Название

Примечание

Количество

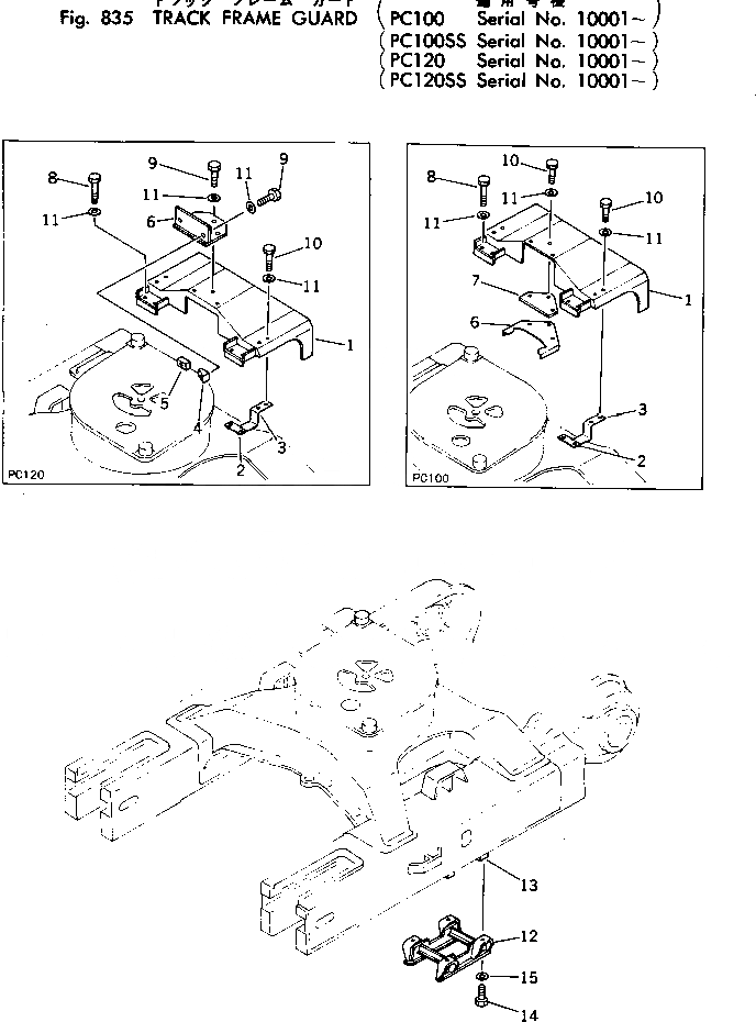
1

202-30-21131

COVER

2

202-30-21150

PLATE (WELDED)

3

202-30-21160

BRACKET (WELDED)

4

203-30-12121

SEAT (WELDED)

5

203-30-12131

SEAT (WELDED)

6

203-30-12111

BRACKET (WELDED)

8

01010-31245

BOLT

9

01010-31225

BOLT

10

01010-31230

BOLT

11

01643-31232

WASHER

12

203-30-36260

GUARD

13

203-30-36280

SEAT (WELDED)

14

01010-31640

BOLT

15

01643-31645

WASHER

Выбрано товаров: 0