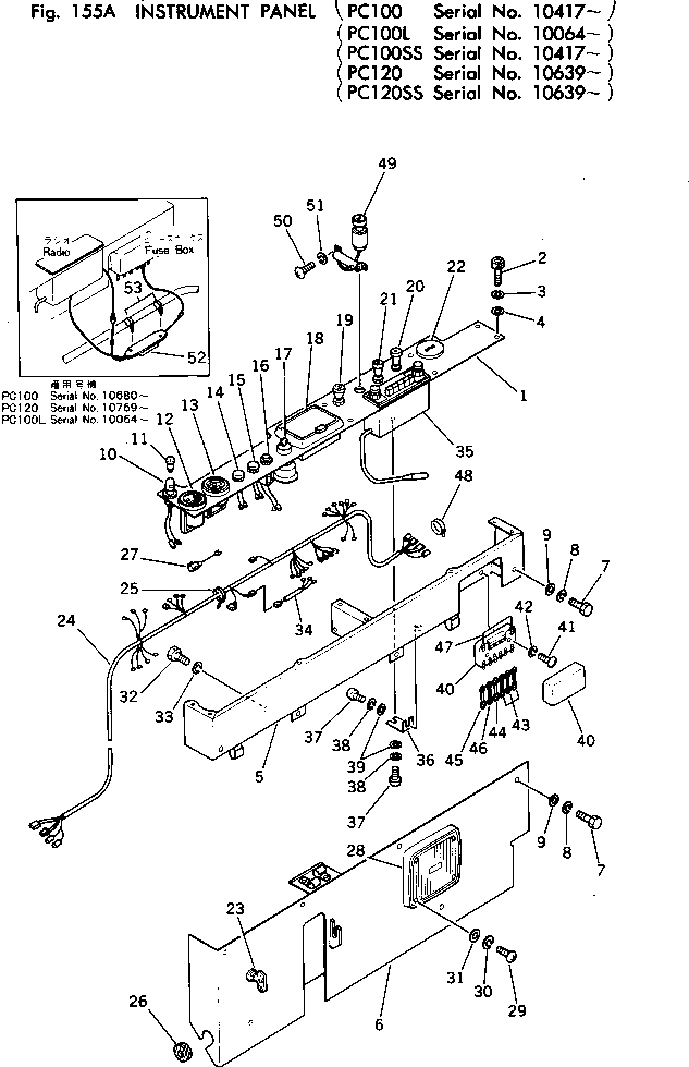
Запчасти Komatsu PC120-1 ПАНЕЛЬ ПРИБОРОВ(№9-) КОМПОНЕНТЫ ДВИГАТЕЛЯ И ЭЛЕКТРИКА

Схема запчастей Komatsu PC120-1 - ПАНЕЛЬ ПРИБОРОВ(№9-) КОМПОНЕНТЫ ДВИГАТЕЛЯ И ЭЛЕКТРИКА
FIT
1:1
100%

Артикул

Название

Примечание

Количество

1

207-06-11581

PANEL,INSTRUMENT

2

205-06-62170

BOLT

3

205-06-62180

WASHER,SPRING

4

205-06-62190

WASHER

5

203-06-31112

COVER

6

203-06-31122

COVER

7

01010-30820

BOLT

8

01602-00825

WASHER,SPRING

9

01643-30823

WASHER

10

205-06-51320

LAMP,PANEL

11

205-06-51330

BULB

12

08687-22400

METER,SERVICE

13

203-06-21131

GAUGE,WATER TEMPERATURE

14

125-06-22210

LAMP,CAUTION, OIL PRESSURE

14

08111-02430

BULB, 3W

15

125-06-22220

LAMP

15

08111-02430

BULB, 3W

16

600-815-2371

SIGNAL,HEATER

17

08087-10000

SWITCH,STARTING

18

566-06-16411

ASHTRAY

19

08061-40010

SWITCH,LAMP

20

08183-00000

SWITCH,WIPER

21

09481-02400

SWITCH,HEATER

22

09414-00053

CAP

23

08066-00000

SWITCH,MAIN

24

203-06-31154

WIRE ASS'Y

25

08034-00414

BAND

26

08037-02512

GROMMET

27

205-06-51290

CONDENSER

28

205-06-62320

SPEAKER,(FOR JAPAN)

28

209-06-11730

SPEAKER,(EXCEPT JAPAN)

29

01220-30420

SCREW

30

01601-00410

WASHER,SPRING

31

01641-00405

WASHER

32

01010-30612

BOLT

33

01602-00619

WASHER,SPRING

34

205-06-61290

WIRE ASS'Y

35

205-06-62310

RADIO,(FOR JAPAN)

35

209-06-11720

RADIO,(EXCEPT JAPAN)

36

205-06-62280

BRACKET

37

01220-30512

SCREW

38

01601-00513

WASHER,SPRING

39

01641-00508

WASHER

40

175-06-35430

BOX,FUSE

41

01220-30616

SCREW

42

01611-06063

WASHER

43

175-06-35420

FUSE, 10A

44

175-06-35410

FUSE, 20A

45

175-06-35390

FUSE, 30A

46

175-06-35380

FUSE, 40A

47

178-06-12290

WIRE

48

08034-00519

BAND

49

195-822-6150

LIGHTER

50

01220-30412

SCREW

51

01601-00410

WASHER,SPRING

52

205-06-62340

FILTER

53

08034-00519

BAND

Выбрано товаров: 57