Запчасти Komatsu PC120-1 ЭЛЕКТРИКА (PC)(№9-) КОМПОНЕНТЫ ДВИГАТЕЛЯ И ЭЛЕКТРИКА

Схема запчастей Komatsu PC120-1 - ЭЛЕКТРИКА (PC)(№9-) КОМПОНЕНТЫ ДВИГАТЕЛЯ И ЭЛЕКТРИКА
FIT
1:1
100%

Артикул

Название

Примечание

Количество

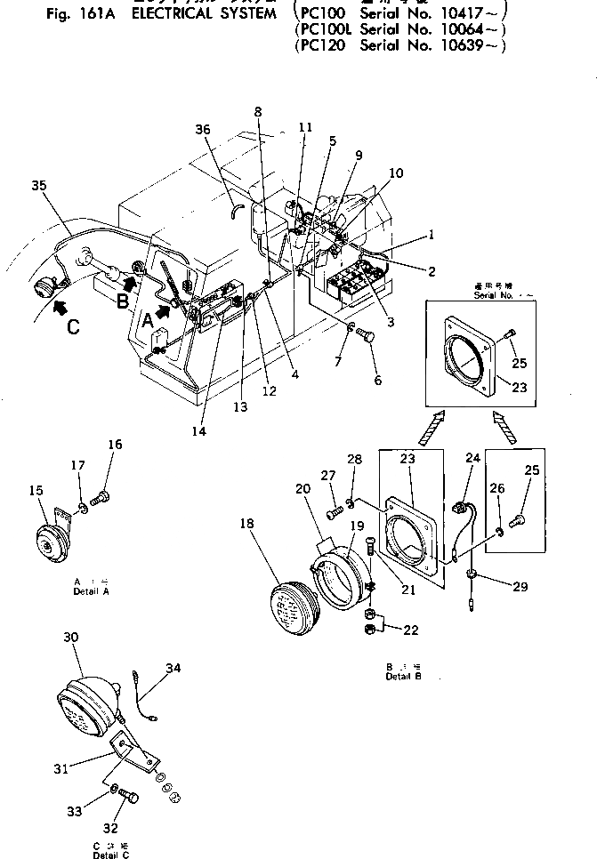
1

08028-13375

WIRE

2

08028-13175

WIRE

3

08038-06031

CAP,TERMINAL

4

203-06-31311

WIRE ASS'Y

5

08036-03014

CLIP

6

01010-31025

BOLT

7

01643-31032

WASHER

8

08036-01414

CLIP

9

08038-00519

CAP

10

08034-00414

BAND

11

08036-10610

CLIP

12

08034-00823

BAND

13

206-54-15750

SEAL

14

08028-13150

WIRE

15

175-06-39170

HORN

16

01010-30816

BOLT

17

01602-00825

WASHER,SPRING

|$17

203-06-31300

LAMP ASS'Y

18

08113-02480

BULB, 80W

19

08128-00003

HOLDER

20

08128-00004

BAND

21

01220-40420

SCREW

22

01580-10403

NUT

23

203-06-31341

BASE

23

203-06-31340

BASE

24

175-06-23230

SOCKET

25

04400-00412

RIVET

25

01220-30408

SCREW

26

01601-00410

WASHER,SPRING

27

01220-30816

SCREW

28

01602-00825

WASHER,SPRING

29

08037-01610

GROMMET

30

08128-32400

LAMP

30

08113-02480

BULB, 80W

30

08128-00003

HOLDER

30

08128-00004

BAND

31

203-06-21290

PLATE

32

01010-31430

BOLT

33

01643-31445

WASHER

34

205-06-51390

CABLE

35

203-06-21331

WIRE

36

08028-12045

CABLE

Выбрано товаров: 42