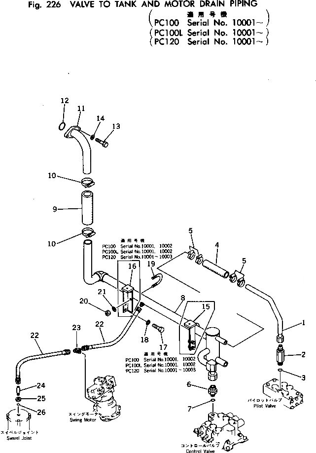
Запчасти Komatsu PC120-1 КЛАПАН - БАК И МОТОР ДРЕНАЖН. ТРУБЫ (PC) ХОД И КОНЕЧНАЯ ПЕРЕДАЧА

Схема запчастей Komatsu PC120-1 - КЛАПАН - БАК И МОТОР ДРЕНАЖН. ТРУБЫ (PC) ХОД И КОНЕЧНАЯ ПЕРЕДАЧА
FIT
1:1
100%

Артикул

Название

Примечание

Количество

1

203-62-31720

TUBE

2

203-62-11410

NIPPLE

3

07002-12434

O-RING

4

203-62-32170

HOSE

5

07281-00489

CLAMP

6

07230-11034

UNION

7

07002-13334

O-RING

8

203-62-31730

TUBE

9

07260-04720

HOSE

10

07281-00809

CLAMP

11

203-62-31760

TUBE

12

07000-03045

O-RING

13

01010-31235

BOLT

14

01643-31232

WASHER

15

203-62-31740

BRACKET

16

203-62-31750

BRACKET

17

01010-31225

BOLT

18

01643-31232

WASHER

19

07283-24949

CLIP

20

01599-01011

NUT

21

01643-31032

WASHER

22

07102-20305

HOSE

23

12R-49-12580

TEE

24

07232-10315

ELBOW

25

07239-12009

NUT

26

07002-02034

O-RING

Выбрано товаров: 26