Запчасти Komatsu PC120-1 MACHINERY ОБСТАНОВКА (/9) (PCSS) ОСНОВНАЯ РАМА И КАБИНА

Схема запчастей Komatsu PC120-1 - MACHINERY ОБСТАНОВКА (/9) (PCSS) ОСНОВНАЯ РАМА И КАБИНА
FIT
1:1
100%

Артикул

Название

Примечание

Количество

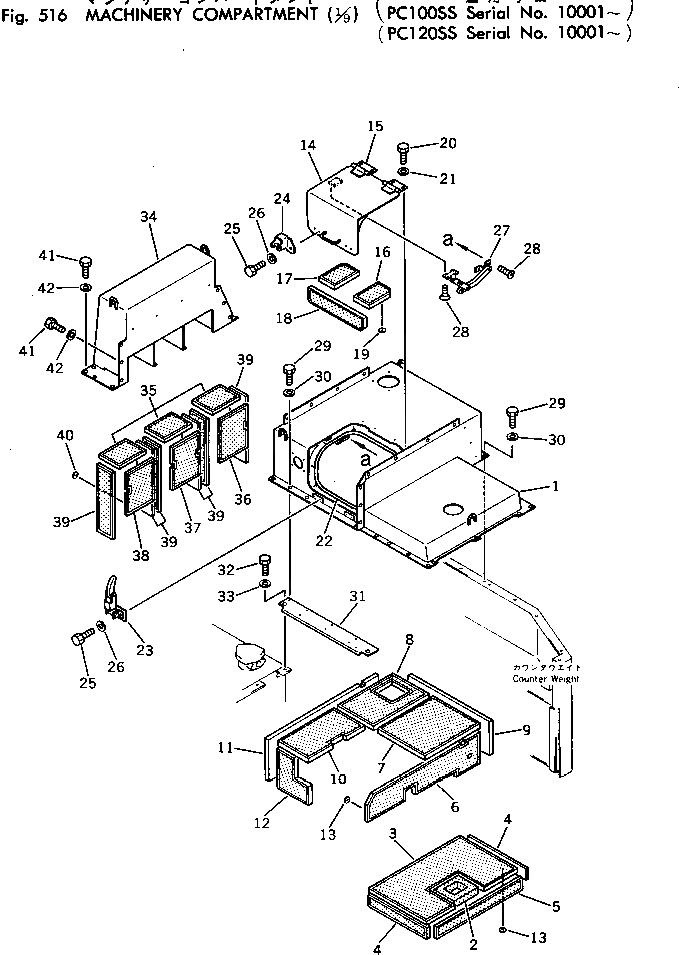
1

203-54-86110

HOOD

2

203-54-86120

SHEET

3

203-54-86130

WOOL,GLASS

4

203-54-86140

WOOL,GLASS

5

203-54-86150

WOOL,GLASS

6

203-54-86220

WOOL,GLASS

7

203-54-86180

WOOL,GLASS

8

203-54-86160

WOOL,GLASS

9

203-54-86190

WOOL,GLASS

10

203-54-86170

WOOL,GLASS

11

203-54-86210

WOOL,GLASS

12

203-54-86230

WOOL,GLASS

13

04431-30000

PLATE

14

203-54-86310

COVER

15

203-54-32151

HINGE

16

203-54-86340

WOOL,GLASS

17

203-54-86320

WOOL,GLASS

18

203-54-86330

WOOL,GLASS

19

04431-30000

PLATE

20

01010-31025

BOLT

21

01643-31032

WASHER

22

203-54-86290

SEAL

23

205-54-12860

CATCHER

24

581-22-12420

SUPPORT

25

01010-30820

BOLT

26

01605-10818

WASHER

27

208-54-13160

STAY

28

01225-40510

SCREW

29

01010-31025

BOLT

30

111-54-11740

WASHER

31

203-54-87490

PLATE

32

01010-31025

BOLT

33

01643-31032

WASHER

34

203-54-86710

COVER

35

203-54-86720

WOOL,GLASS

36

203-54-86730

WOOL,GLASS

37

203-54-86750

WOOL,GLASS

38

203-54-86740

WOOL,GLASS

39

203-54-86770

WOOL,GLASS

40

04431-30000

PLATE

41

01010-31025

BOLT

42

111-54-11740

WASHER

Выбрано товаров: 42