Запчасти Komatsu PC120-1 MACHINERY ОБСТАНОВКА (7/9) (PCSS) ОСНОВНАЯ РАМА И КАБИНА

Схема запчастей Komatsu PC120-1 - MACHINERY ОБСТАНОВКА (7/9) (PCSS) ОСНОВНАЯ РАМА И КАБИНА
FIT
1:1
100%

Артикул

Название

Примечание

Количество

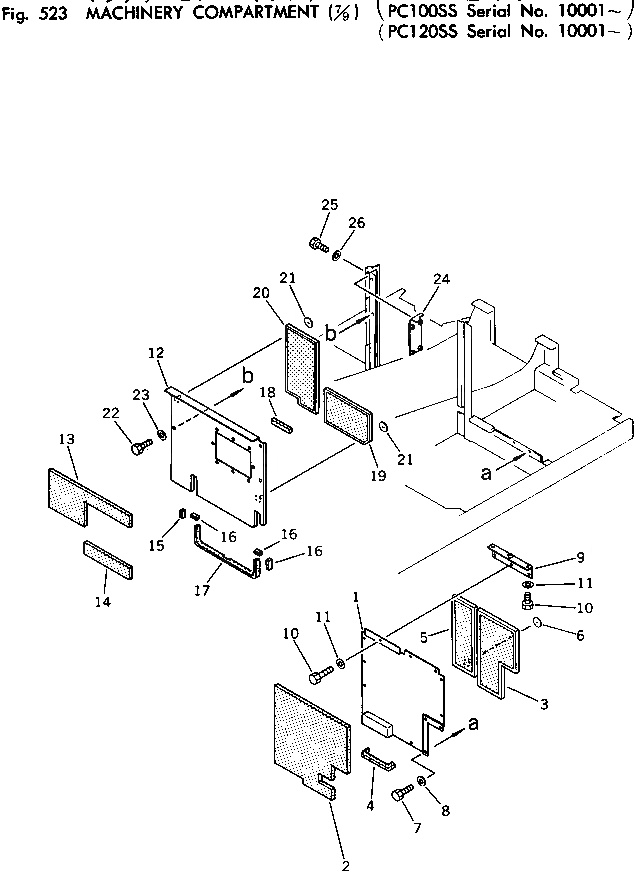
1

203-54-87310

COVER

2

203-54-87320

SHEET

3

203-54-87330

SHEET

4

203-54-87340

SHEET

5

203-54-87350

WOOL

6

04431-30000

PLATE

7

01010-31025

BOLT

8

01643-31032

WASHER

9

203-54-87360

COVER

10

01010-31025

BOLT

11

01643-31032

WASHER

12

203-54-87371

COVER

13

203-54-87380

SHEET

14

203-54-87910

SHEET

15

203-54-87920

SHEET

16

203-54-87930

SHEET

17

203-54-87391

SHEET

18

203-54-87410

SHEET

19

203-54-87420

WOOL,GLASS

20

203-54-87430

WOOL,GLASS

21

04431-30000

PLATE

22

01010-31025

BOLT

23

01643-31032

WASHER

24

203-54-87441

COVER

25

01010-31025

BOLT

26

01643-31032

WASHER

Выбрано товаров: 26