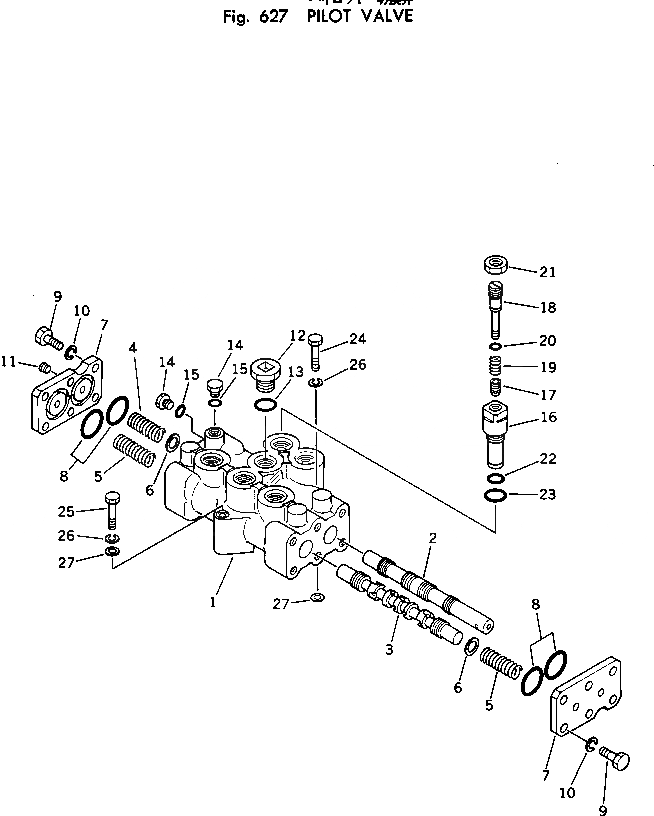
Запчасти Komatsu PC120-1 ГЛАВН. КЛАПАН ГИДРАВЛИКА

Схема запчастей Komatsu PC120-1 - ГЛАВН. КЛАПАН ГИДРАВЛИКА
FIT
1:1
100%

Артикул

Название

Примечание

Количество

|$0

702-15-22000

VALVE ASS'Y,PILOT

1

BODY

2

SPOOL

3

SPOOL

4

702-15-21140

SPRING

5

702-15-21150

SPRING

6

702-15-21160

WASHER

7

702-15-21170

PLATE

8

07000-13030

O-RING

9

01010-31030

BOLT

10

01602-01030

WASHER,SPRING

11

706-73-40340

PLUG

12

07040-12414

PLUG

13

07002-02434

O-RING

14

07040-11007

PLUG

15

07002-01023

O-RING

|$16

700-20-56000

VALVE ASS'Y,RELIEF

16

SLEEVE

17

POPPET

18

PISTON

19

SPRING

20

O-RING

21

NUT

22

07000-12014

O-RING

23

07002-02434

O-RING

24

01010-30850

BOLT

25

01010-30865

BOLT

26

01602-00825

WASHER,SPRING

27

01643-30823

WASHER

Выбрано товаров: 29