Качественные детали и логистика
Оригинальные и аналоговые запчасти с доставкой по России, Казахстану и Беларуси
©2022 PartSell ООО "Система" ИНН 2463123282 ОГРН 1212400004838
Центральный офис: г. Красноярск, Академика Киренского, д.87, пом.4
Телефон: 8 (800) 777-65-74 Email: zakaz@partsell.ru
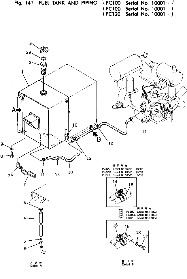
ТОПЛ. БАК И ТОПЛИВОПРОВОД (PC)
№
Артикул
Название
Примечание
Количество
|$0
203-04-00011
FUEL TANK ASS'Y
1
TANK,FUEL
2
07056-18416
STRAINER,FUEL
3
07050-21200
CAP
07091-01200
CAP,(FOR VANDALISM PROTECTION)
3A
07050-21202
GASKET
4
203-04-31121
TUBE,VINYL
5
201-04-21160
BALL,FLOAT
6
07281-00197
CLAMP
7
07700-40240
VALVE
7A
07323-30200
ELBOW
8
01010-51430
BOLT
9
01643-31445
WASHER
10
203-04-31150
TUBE
11
07280-01620
12
08034-00414
BAND
13
08037-03620
GROMMET
14
08036-11214
CLIP
15
08036-01814
16
08036-10814
17
01010-31220
18
01643-31232
Выбрано товаров: 0