Запчасти Komatsu PC120-2 РАЗГРУЗ. КЛАПАН (PCSS) ГИДРАВЛИКА

Схема запчастей Komatsu PC120-2 - РАЗГРУЗ. КЛАПАН (PCSS) ГИДРАВЛИКА
FIT
1:1
100%

Артикул

Название

Примечание

Количество

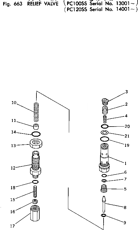
|1

700-82-53000

MAIN RELIEF VALVE A.

1

SLEEVE

2

VALVE,MAIN

3

700-10-51230

PLUG

4

700-22-11540

SPRING

5

700-80-51170

SEAT,VALVE

6

07000-22012

O-RING

7

07001-02012

RING,BACK-UP

8

700-80-61190

POPPET

9

700-80-51240

SPACER

10

700-80-51130

SPRING

11

700-80-51230

RETAINER

12

700-80-51230

RETAINER

13

07239-12410

NUT

14

07002-02434

O-RING

15

700-10-51211

SCREW,ADJUST

16

01580-00605

NUT

17

700-10-51220

COVER

18

07002-01423

O-RING

19

07002-03334

O-RING

20

700-13-31161

O-RING

21

700-80-51190

RING,BACK-UP

Выбрано товаров: 22