Запчасти Komatsu PC120-2 КЛАПАН РЫЧАГ УПРАВЛ-Я И МЕХАНИЗМ (/) (ДЛЯ ЯПОН.) ГИДРАВЛИКА

Схема запчастей Komatsu PC120-2 - КЛАПАН РЫЧАГ УПРАВЛ-Я И МЕХАНИЗМ (/) (ДЛЯ ЯПОН.) ГИДРАВЛИКА
FIT
1:1
100%

Артикул

Название

Примечание

Количество

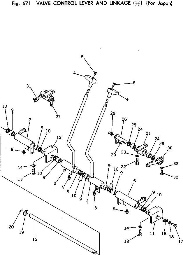
1

203-43-31112

LEVER,L.H.

2

203-43-31122

LEVER,R.H.

3

07020-00000

FITTING,GREASE

4

20X-43-11270

KNOB

5

01225-40625

SCREW

6

203-43-31163

LEVER

7

203-43-31183

LEVER

8

07020-00000

FITTING,GREASE

9

06120-03020

BEARING

10

06122-03004

SEAL,BEARING

11

203-43-21220

BRACKET

12

203-43-21230

BRACKET

13

01010-31230

BOLT

14

01643-31232

WASHER

15

203-43-31311

SHAFT

16

205-43-51520

END,ROD

17

01010-30825

BOLT

18

01602-00825

WASHER,SPRING

19

01640-03045

WASHER

20

04050-03040

PIN,COTTER

21

203-43-21310

BRACKET

22

01010-31225

BOLT

23

01643-31232

WASHER

24

06120-03020

BEARING

25

06122-03004

SEAL,BEARING

26

203-43-31172

SHAFT

27

203-43-31192

SHAFT

28

07020-00900

FITTING,GREASE

29

04010-00732

KEY

30

203-43-31480

LEVER

31

203-43-31470

LEVER

32

01010-31245

BOLT

33

01643-31232

WASHER

Выбрано товаров: 33