Запчасти Komatsu PC120-2 -СЕКЦ. УПРАВЛЯЮЩ. КЛАПАН(/) ОПЦИОННЫЕ КОМПОНЕНТЫ

Схема запчастей Komatsu PC120-2 - -СЕКЦ. УПРАВЛЯЮЩ. КЛАПАН(/) ОПЦИОННЫЕ КОМПОНЕНТЫ
FIT
1:1
100%

Артикул

Название

Примечание

Количество

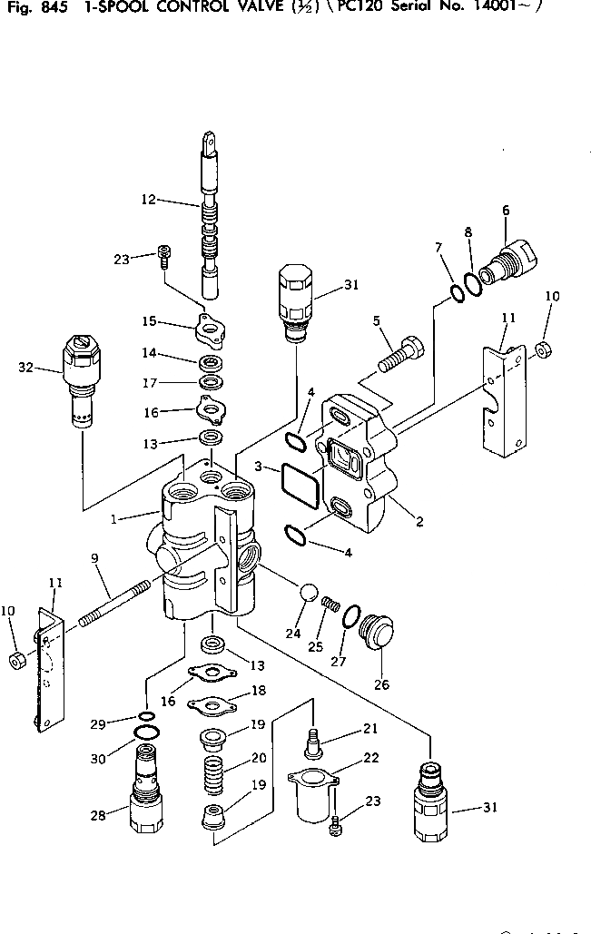
|1

700-21-45000

VALVE ASS'Y

|$$2

THIS ASSEMBLY CONSISTS OF ALL PARTS SHOWN IN FIGS.845 AND 846.

1

BODY

2

COVER

3

07000-13040

O-RING

4

700-22-11450

O-RING

5

700-21-11120

BOLT

6

700-22-11390

NIPPLE

7

700-22-11410

O-RING

8

07002-02434

O-RING

9

700-21-11110

STUD

10

01580-10806

NUT

11

700-26-11170

ANGLE

12

SPOOL

13

700-22-11252

U-PACKING

14

700-22-11261

SEAL,DUST

15

700-22-11270

PLATE

16

700-22-11420

GASKET

17

700-22-11430

COLLAR

18

700-22-11281

PLATE

19

700-22-11290

RETAINER

20

700-22-11311

SPRING

21

700-22-11320

PLUG

22

700-22-11331

COVER

23

01252-30616

BOLT

24

700-22-12340

BALL

25

700-22-12350

SPRING

26

700-22-11351

PLUG

27

07002-12434

O-RING

28

700-22-11380

PLUG

29

07000-12014

O-RING

30

07002-02434

O-RING

31

700-20-66001

VALVE ASS'Y,SUCTION

32

700-20-54001

VALVE ASS'Y,RELIEF

Выбрано товаров: 34