Запчасти Komatsu PC120-2 ЭЛЕКТРИКА (PCSS)(№97-) КОМПОНЕНТЫ ДВИГАТЕЛЯ И ЭЛЕКТРИКА

Схема запчастей Komatsu PC120-2 - ЭЛЕКТРИКА (PCSS)(№97-) КОМПОНЕНТЫ ДВИГАТЕЛЯ И ЭЛЕКТРИКА
FIT
1:1
100%

Артикул

Название

Примечание

Количество

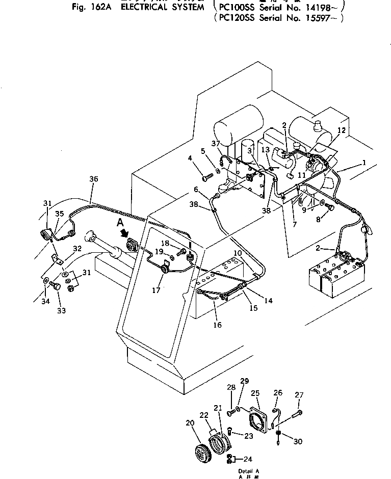
1

08028-13175

CABLE

2

08038-06031

CAP

3

203-06-86241

WIRE ASS'Y

4

01220-40312

SCREW

5

01601-20307

WASHER,SPRING

6

203-06-86231

WIRE ASS'Y

7

08036-03014

CLIP

8

01010-31025

BOLT

9

01643-31032

WASHER

10

08036-01814

CLIP

11

08038-00519

CAP

12

08034-00414

BAND

13

08036-10610

CLIP

14

08034-00823

BAND

15

206-54-15750

SEAL

16

08028-13150

CABLE

17

175-06-39170

HORN

18

01010-30816

BOLT

19

01602-00825

WASHER,SPRING

|20

203-06-31300

LAMP ASS'Y

20

08113-02480

BULB¤ 80W

21

08128-00003

HOLDER

22

08128-00004

BAND

23

01220-40412

SCREW

24

01580-10403

NUT

25

203-06-31341

BASE

26

175-06-23230

SOCKET

27

04400-00412

RIVET

28

01220-30816

SCREW

29

01602-00825

WASHER,SPRING

30

08037-01610

GROMMET

31

08128-32400

LAMP

|31

08113-02480

BULB¤ 80W

|31

08128-00003

HOLDER

|31

08128-00004

BAND

32

203-06-21290

PLATE

33

01010-31430

BOLT

34

01643-31445

WASHER

35

205-06-51390

CABLE

36

203-06-21331

WIRE

37

08028-12045

CABLE

38

08034-00414

BAND

Выбрано товаров: 42