Запчасти Komatsu PC120-2 КАБИНА (/7) ОСНОВНАЯ РАМА И КАБИНА

Схема запчастей Komatsu PC120-2 - КАБИНА (/7) ОСНОВНАЯ РАМА И КАБИНА
FIT
1:1
100%

Артикул

Название

Примечание

Количество

|1

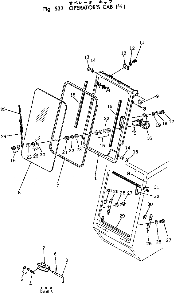
203-54-00112

OPERATOR'S CAB ASS'Y

|$$2

THIS ASSEMBLY CONSISTS OF ALL PARTS SHOWN IN FIGS.531 TO 536.

|1

205-54-61172

WINDOW,FRONT

1

205-54-63900

LOCK ASS'Y (WELDED)

2

205-54-63910

BRACKET

3

205-54-63920

PIN

4

205-54-51921

SPRING

5

01641-01016

WASHER

6

04050-03018

PIN,COTTER

7

205-54-61353

STRIP,WEATHER

8

205-54-61313

GLASS

9

205-54-63250

DAMPER

10

566-54-24511

STRIKER

11

01224-40820

SCREW

12

205-54-53730

WASHER,LOCK

13

205-54-63290

ROLLER

14

205-54-63540

BUSHING

15

205-54-63240

SEAL

16

205-06-62210

WIPER MOTOR ASS'Y

17

01220-40516

SCREW

18

01601-20513

WASHER,SPRING

19

01641-20508

WASHER

20

205-06-62240

COLLAR

21

205-06-62230

GROMMET

22

205-06-62270

WASHER

23

205-06-62250

NUT

24

205-06-62220

ARM

25

205-06-62260

BLADE

26

205-54-63221

COVER,L.H.

|26

205-54-63211

COVER,R.H.

27

01220-40616

SCREW

28

01601-20619

WASHER,SPRING

29

205-54-63473

SEAL

30

205-54-64830

SEAL

31

205-54-63260

CHANNEL

32

01370-00412

SCREW

Выбрано товаров: 36