Запчасти Komatsu PC120-2 КАБИНА (7/7) ОСНОВНАЯ РАМА И КАБИНА

Схема запчастей Komatsu PC120-2 - КАБИНА (7/7) ОСНОВНАЯ РАМА И КАБИНА
FIT
1:1
100%

Артикул

Название

Примечание

Количество

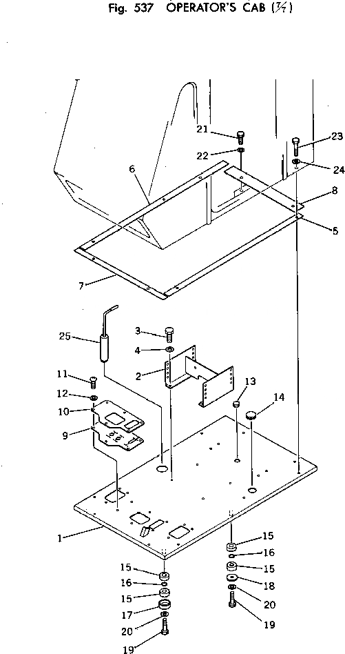
1

203-54-31214

FRAME

2

203-54-31490

BRACKET

3

01010-31230

BOLT

4

01643-31232

WASHER

5

20D-54-13380

SHEET

6

20D-54-13390

SHEET

7

20D-54-13360

SHEET

8

20D-54-13370

SHEET

9

203-54-31272

COVER

10

203-54-31262

PLATE

11

01220-40616

SCREW

12

01643-30623

WASHER

13

09415-02520

CAP

14

09415-05016

CAP

15

203-54-21110

CUSHION

16

07000-03025

O-RING

17

201-54-21860

COLLAR

18

205-54-51950

PLATE

19

01010-31675

BOLT

20

01643-31645

WASHER

21

01010-31230

BOLT

22

01643-31232

WASHER

23

01010-31270

BOLT

24

01643-31232

WASHER

25

203-54-31251

PIN,SWING LOCK

Выбрано товаров: 0