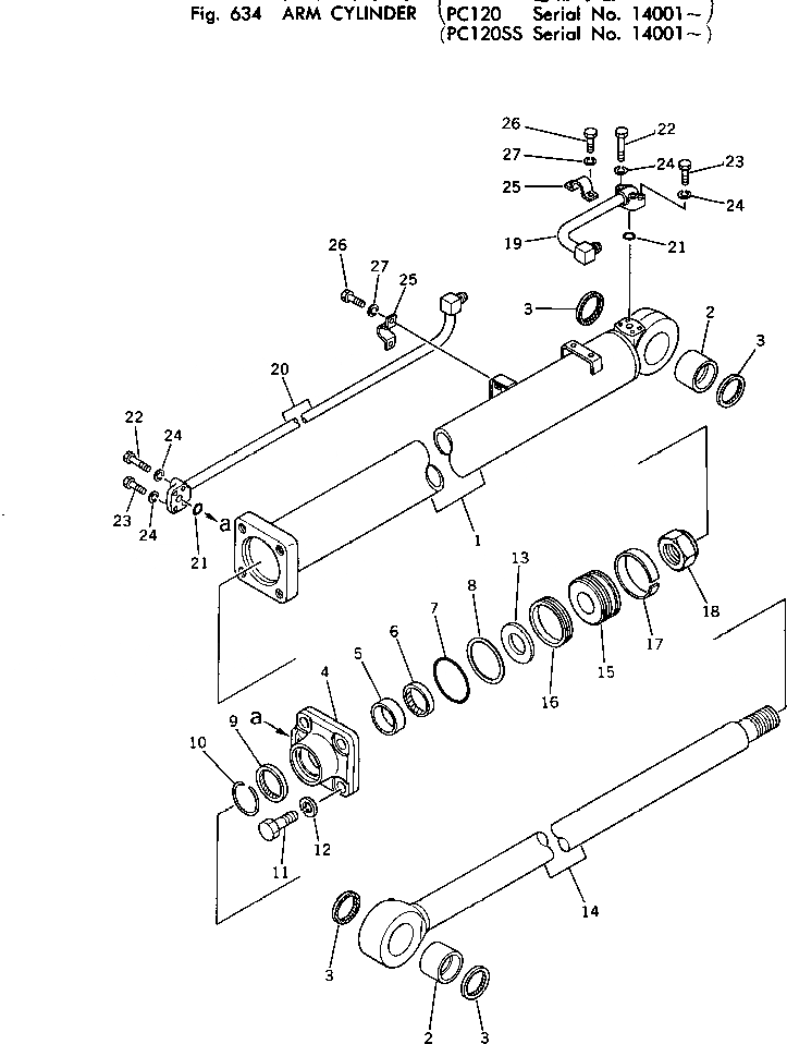
Запчасти Komatsu PC120-2 ЦИЛИНДР РУКОЯТИ ГИДРАВЛИКА

Схема запчастей Komatsu PC120-2 - ЦИЛИНДР РУКОЯТИ ГИДРАВЛИКА
FIT
1:1
100%

Артикул

Название

Примечание

Количество

|1

203-63-62300

CYLINDER ASS'Y

1

203-63-62340

CYLINDER

2

202-63-36440

BUSHING

3

07145-00070

SEAL,DUST (KIT)

4

203-63-62330

HEAD,CYLINDER

5

07177-08030

BUSHING

6

707-51-80211

PACKING,ROD (KIT)

7

07000-12125

O-RING (KIT)

8

07146-02126

RING,BACK-UP (KIT)

9

195-63-92190

SEAL,DUST (KIT)

10

07179-00103

RING

11

01010-83085

BOLT

12

01601-23075

WASHER

13

707-41-10120

RETAINER

14

203-63-62320

ROD,PISTON

15

205-63-55171

PISTON

16

707-44-13080

RING,PISTON (KIT)

17

07155-01330

RING,WEAR (KIT)

18

07165-15860

NUT

19

202-63-36180

TUBE

20

203-63-62360

TUBE

21

07000-13030

O-RING (KIT)

22

01010-50850

BOLT

23

01010-50835

BOLT

24

01602-20825

WASHER

25

07282-02793

CLAMP

26

01010-51025

BOLT

27

01602-21030

WASHER,SPRING

Выбрано товаров: 28