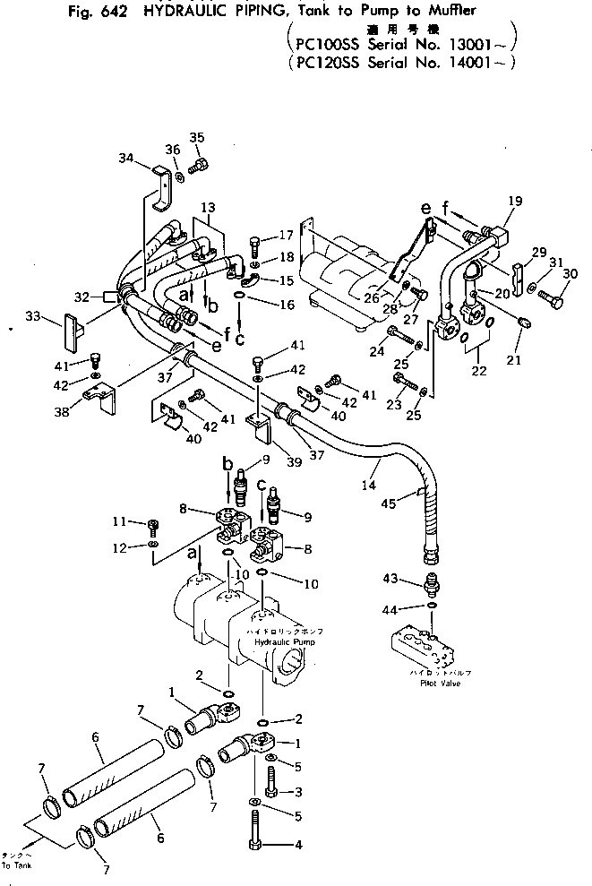
Запчасти Komatsu PC120-2 ГИДРОЛИНИЯ (ИЗ БАКА В НАСОС - ГЛУШИТЕЛЬ) (PCSS) ГИДРАВЛИКА

Схема запчастей Komatsu PC120-2 - ГИДРОЛИНИЯ (ИЗ БАКА В НАСОС - ГЛУШИТЕЛЬ) (PCSS) ГИДРАВЛИКА
FIT
1:1
100%

Артикул

Название

Примечание

Количество

1

203-62-31121

TUBE

2

07000-02060

O-RING

3

01010-31265

BOLT

4

01010-31290

BOLT

5

01643-31232

WASHER

6

07260-05845

HOSE

7

07281-00909

CLAMP

8

203-62-86111

BLOCK

9

700-82-53000

MAIN RELIEF VALVE A.

10

07000-13032

O-RING

11

01252-41035

BOLT

12

01602-21030

WASHER,SPRING

13

203-62-32241

HOSE

14

203-62-32210

HOSE

15

07371-21049

FLANGE,SPLIT

16

07000-13032

O-RING

17

01010-51035

BOLT

18

01602-21030

WASHER,SPRING

19

203-62-32272

TUBE

20

203-62-32262

TUBE

21

07042-20108

PLUG

22

07000-13035

O-RING

23

01010-51055

BOLT

24

01010-51060

BOLT

25

01643-31032

WASHER

26

203-62-32380

BRACKET

27

01010-51025

BOLT

28

01643-31032

WASHER

29

205-62-52570

CLAMP

30

01010-51250

BOLT

31

01643-31232

WASHER

32

203-62-32430

CUSHION

33

203-62-32420

CLAMP

34

203-62-32410

PLATE

35

01010-51235

BOLT

36

01643-31232

WASHER

37

203-62-32330

CUSHION

38

203-62-32340

BRACKET

39

203-62-32350

BRACKET

40

203-62-32311

CLAMP

41

01010-51025

BOLT

42

01643-31032

WASHER

43

203-62-32280

NIPPLE

44

07002-12434

O-RING

45

203-62-32450

COVER

Выбрано товаров: 45