Запчасти Komatsu PC120-2 ГИДРОЛИНИЯ (КЛАПАН TO/FROM ЦИЛИНДР РУКОЯТИ) (ШАССИ) ГИДРАВЛИКА

Схема запчастей Komatsu PC120-2 - ГИДРОЛИНИЯ (КЛАПАН TO/FROM ЦИЛИНДР РУКОЯТИ) (ШАССИ) ГИДРАВЛИКА
FIT
1:1
100%

Артикул

Название

Примечание

Количество

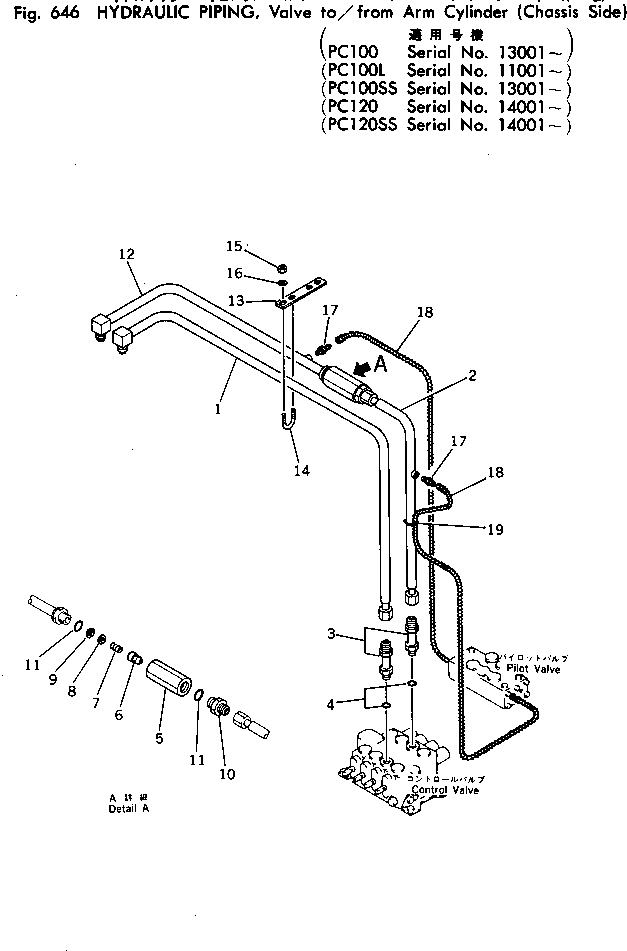
1

203-62-31381

TUBE

2

203-62-31950

TUBE

3

203-62-11410

NIPPLE

4

07002-12434

O-RING

|5

203-60-21400

VALVE ASS'Y

5

203-60-21280

BODY

6

203-60-21291

POPPET

7

203-60-21310

SPRING

8

205-60-51320

SEAT

9

04065-02812

RING,SNAP

10

202-62-14170

NIPPLE

11

07002-13334

O-RING

12

203-62-31960

TUBE

13

203-62-31870

PLATE

14

07283-22738

CLIP

15

01599-01011

NUT

16

01643-31032

WASHER

17

203-62-21740

NIPPLE

18

203-62-31781

HOSE

19

08034-00519

BAND

Выбрано товаров: 20