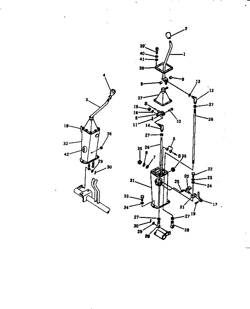
Запчасти Komatsu PC120-2 КЛАПАН РЫЧАГ УПРАВЛ-Я И МЕХАНИЗМ (/) (КРОМЕ ЯПОН.) ГИДРАВЛИКА

Схема запчастей Komatsu PC120-2 - КЛАПАН РЫЧАГ УПРАВЛ-Я И МЕХАНИЗМ (/) (КРОМЕ ЯПОН.) ГИДРАВЛИКА
FIT
1:1
100%

Артикул

Название

Примечание

Количество

1

205-43-62231

LEVER,L.H.

2

205-43-62570

KNOB

3

205-43-62241

LEVER,R.H.

4

205-43-62560

SWITCH,HORN

5

205-43-52140

YOKE

6

203-43-31420

BUSHING

7

01641-01423

WASHER

8

04064-01410

RING,SNAP

9

203-43-31420

BUSHING

10

04205-01450

PIN

11

04050-04022

PIN,COTTER

12

207-43-11170

JOINT

13

01643-31032

WASHER

14

207-43-11170

JOINT

15

01582-01008

NUT

16

01643-31032

WASHER

17

205-43-52150

LEVER,L.H.

18

205-43-52160

LEVER,R.H.

19

04025-00520

PIN,SPRING

20

205-43-62320

LEVER

21

205-43-62330

BLOCK

22

01010-30840

BOLT

23

01602-00825

WASHER,SPRING

24

01643-30823

WASHER

25

203-43-21370

SPRING

26

04245-01038

ROD

27

01582-01008

NUT

28

04250-41056

END,ROD

29

01641-01016

WASHER

30

04050-03018

PIN,COTTER

31

205-43-62211

STAND,L.H.

32

205-43-62221

STAND,R.H.

33

01010-31230

BOLT

34

01643-31232

WASHER

35

09415-02512

CAP

36

08037-01008

GROMMET

37

205-43-62250

BELLOWS

38

205-43-62260

COVER

39

205-06-62170

BOLT

40

205-06-62180

WASHER,SPRING

41

205-06-62190

WASHER

42

203-06-21150

CLIP

Выбрано товаров: 42