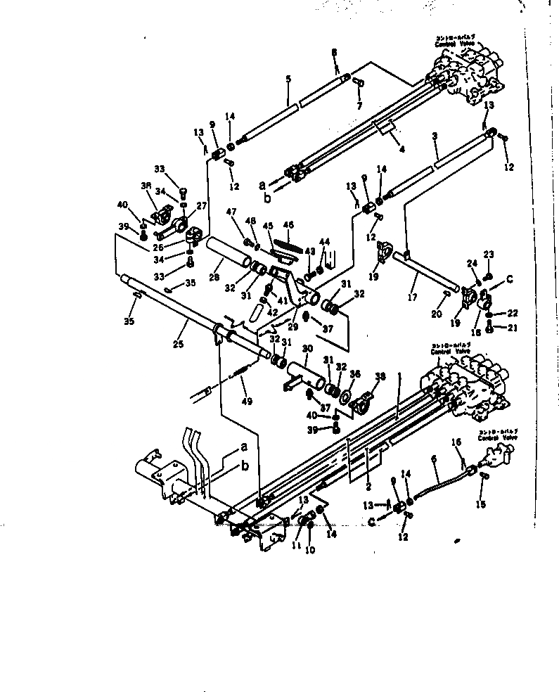
Запчасти Komatsu PC120-2 КЛАПАН РЫЧАГ УПРАВЛ-Я И МЕХАНИЗМ (/) (КРОМЕ ЯПОН.) ГИДРАВЛИКА

Схема запчастей Komatsu PC120-2 - КЛАПАН РЫЧАГ УПРАВЛ-Я И МЕХАНИЗМ (/) (КРОМЕ ЯПОН.) ГИДРАВЛИКА
FIT
1:1
100%

Артикул

Название

Примечание

Количество

1

203-43-31251

ROD

2

203-43-31261

ROD

3

203-43-31660

ROD

4

203-43-31281

ROD

5

203-43-31721

ROD

6

203-43-31711

ROD

7

04205-10822

PIN

8

04050-12012

PIN,COTTER

9

04210-21040

YOKE

10

01641-21016

WASHER

11

04250-41056

END,ROD

12

04205-11028

PIN

13

04050-13018

PIN,COTTER

14

01582-11008

NUT

15

04205-10628

PIN

16

04050-11610

PIN,COTTER

17

203-43-31690

SHAFT

18

203-43-31680

LEVER

19

202-43-11310

BEARING

20

04010-00732

KEY

21

01010-51245

BOLT

22

01643-31232

WASHER

23

01010-51020

BOLT

24

01602-21030

WASHER,SPRING

25

203-43-31610

SHAFT

26

203-43-31641

LEVER

27

203-43-31650

LEVER

28

203-43-31790

SPACER

29

203-43-31620

LEVER

30

203-43-31630

LEVER

31

06120-03020

BEARING

32

06122-03004

SEAL,BEARING

33

01010-51245

BOLT

34

01643-31232

WASHER

35

04010-00732

KEY

36

01640-23045

WASHER

37

07020-00000

FITTING,GREASE

38

202-43-11310

BEARING

39

01010-51020

BOLT

40

01602-21030

WASHER,SPRING

41

09311-31237

BUMPER

42

01580-11210

NUT

43

01016-50840

BOLT

44

01580-10806

NUT

45

20D-43-13441

PEDAL

46

20D-43-14370

CAP,PEDAL

47

01010-50830

BOLT

48

01602-20825

WASHER,SPRING

49

154-43-15330

SPRING

Выбрано товаров: 49