Запчасти Komatsu PC120-2 РУКОЯТЬ РАБОЧЕЕ ОБОРУДОВАНИЕ

Схема запчастей Komatsu PC120-2 - РУКОЯТЬ РАБОЧЕЕ ОБОРУДОВАНИЕ
FIT
1:1
100%

Артикул

Название

Примечание

Количество

|$0

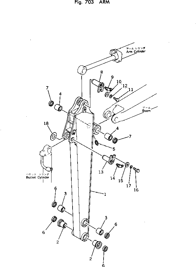
203-70-00022

ARM ASSY

1

ARM

2

203-70-33181

BUSHING

3

203-70-33150

BUSHING

4

203-70-32141

BUSHING

5

07020-00000

FITTING,GREASE

6

203-70-33210

SEAL,DUST

7

07145-00070

SEAL,DUST

8

203-70-31190

PIN

9

07020-00675

FITTING,GREASE

10

203-70-31230

PLATE

11

01010-31430

BOLT

12

01643-31445

WASHER

13

203-70-32150

PIN

14

07020-00675

FITTING,GREASE

15

203-70-31230

PLATE

16

01010-31430

BOLT

17

01643-31445

WASHER

18

203-70-24150

SPACER, 1.0MM

Выбрано товаров: 19