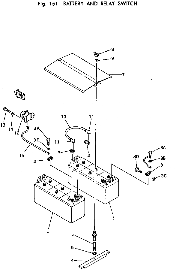
Запчасти Komatsu PC120-2 АККУМУЛЯТОР И РЕЛЕ КОМПОНЕНТЫ ДВИГАТЕЛЯ И ЭЛЕКТРИКА

Схема запчастей Komatsu PC120-2 - АККУМУЛЯТОР И РЕЛЕ КОМПОНЕНТЫ ДВИГАТЕЛЯ И ЭЛЕКТРИКА
FIT
1:1
100%

Артикул

Название

Примечание

Количество

1

08000-02212

BATTERY (115F51)

2

08000-00000

TERMINAL, (+)

3

08000-00001

TERMINAL, (-)

3A

01050-31018

BOLT

3B

01640-01016

WASHER

3C

01580-00806

NUT

3D

01010-30830

BOLT

4

203-06-31222

CLAMP

5

203-09-31120

BOLT

6

01643-31232

WASHER

7

203-06-31212

COVER

8

01541-01260

NUT,WING

9

01643-31232

WASHER

10

08028-13015

CABLE

11

08038-04030

CAP

12

08088-10000

SWITCH,BATTERY RELAY

13

01010-50816

BOLT

14

01643-30823

WASHER

15

202-06-11250

WIRE

Выбрано товаров: 19