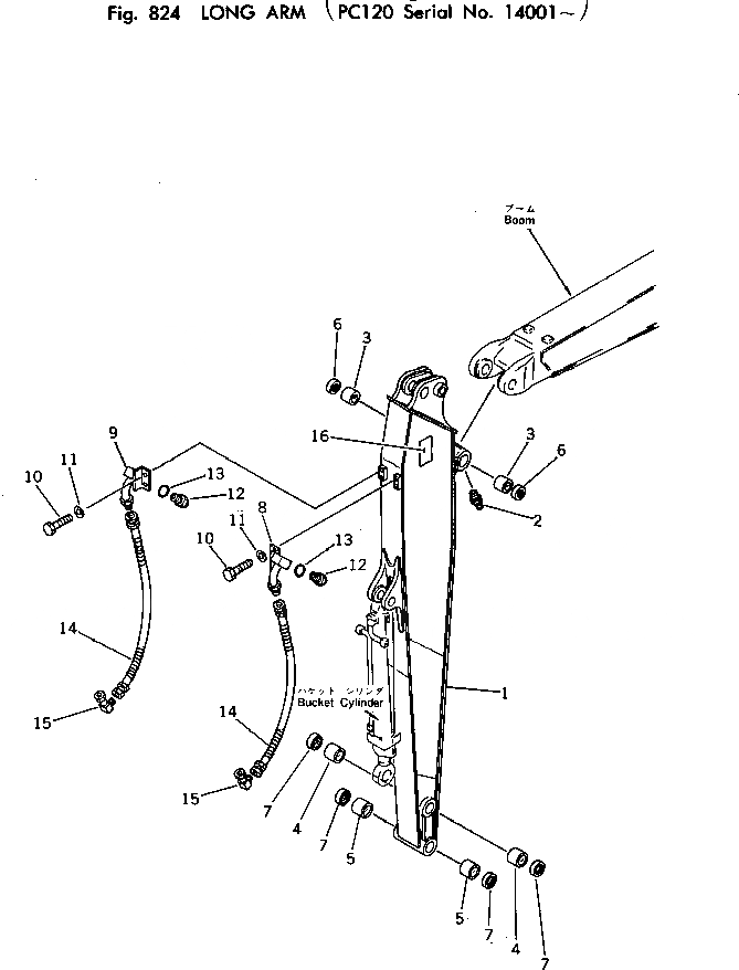
Запчасти Komatsu PC120-2 УДЛИНН. РУКОЯТЬ ОПЦИОННЫЕ КОМПОНЕНТЫ

Схема запчастей Komatsu PC120-2 - УДЛИНН. РУКОЯТЬ ОПЦИОННЫЕ КОМПОНЕНТЫ
FIT
1:1
100%

Артикул

Название

Примечание

Количество

|$0

203-943-0012

LONG ARM ASS'Y

1

ARM

2

07020-00675

FITTING,GREASE

3

203-70-32140

BUSHING

4

203-70-33150

BUSHING

5

203-70-33181

BUSHING

6

07145-00070

SEAL,DUST

7

203-70-33210

SEAL,DUST

8

203-943-1131

TUBE,L.H.

9

203-943-1121

TUBE,R.H.

10

01010-31225

BOLT

11

01643-31232

WASHER

12

07230-10628

UNION

13

07002-12434

O-RING

14

07123-20610

HOSE

15

203-943-1150

ELBOW

16

202-943-3140

PLATE, CAUTION

Выбрано товаров: 17