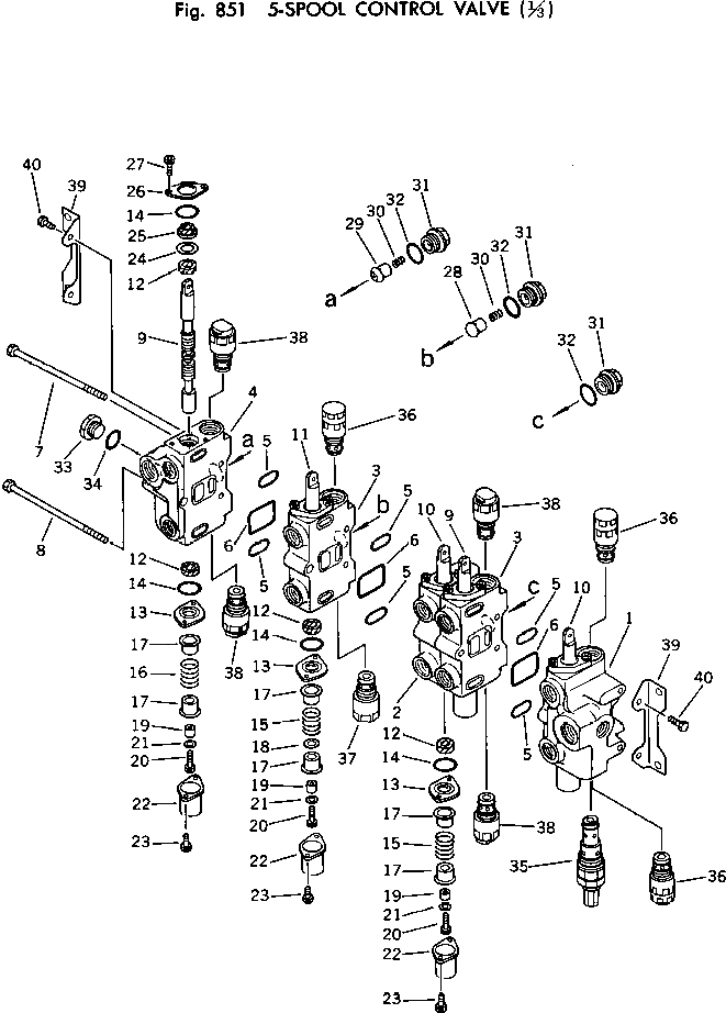
Запчасти Komatsu PC120-2 5-СЕКЦИОНН. УПРАВЛЯЮЩ. КЛАПАН (/) ОПЦИОННЫЕ КОМПОНЕНТЫ

Схема запчастей Komatsu PC120-2 - 5-СЕКЦИОНН. УПРАВЛЯЮЩ. КЛАПАН (/) ОПЦИОННЫЕ КОМПОНЕНТЫ
FIT
1:1
100%

Артикул

Название

Примечание

Количество

|$0

700-85-17000

VALVE ASS'Y

1

BODY,VALVE

2

BLOCK,VALVE

3

BLOCK,VALVE

4

COVER,VALVE

5

07000-03030

O-RING

6

07000-13050

O-RING

7

700-85-11111

BOLT

8

700-85-11121

BOLT

9

SPOOL

10

SPOOL

11

SPOOL

12

700-84-11232

PACKING

13

700-84-11620

PLATE

14

700-84-11240

O-RING

15

700-84-11650

SPRING

16

700-84-11850

SPRING

17

700-84-11630

RETAINER

18

700-84-11671

SPACER

19

700-84-11640

COLLAR

20

01252-30830

BOLT

21

01643-30823

WASHER

22

700-84-11390

COVER

23

01252-30625

BOLT

24

700-84-11290

COLLAR

25

700-84-11820

SEAL,DUST

26

700-84-11310

PLATE

27

01252-30620

BOLT

28

700-42-31460

VALVE

29

700-84-11930

VALVE

30

700-42-31470

SPRING

31

700-84-11320

PLUG

32

07002-13034

O-RING

33

07040-12012

PLUG

34

07002-02034

O-RING

35

700-82-53000

MAIN RELIEF VALVE A.

36

700-80-66002

VALVE ASS'Y,SUCTION

37

700-80-73000

VALVE ASS'Y,SAFETY

38

700-80-75000

VALVE ASS'Y,SUCTION

39

700-84-11330

BRACKET

40

01010-51020

BOLT

Выбрано товаров: 41