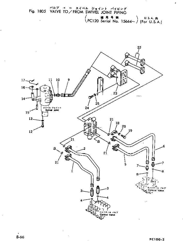
Запчасти Komatsu PC120-2 КЛАПАН TO/FROM ПОВОРОТНОЕ СОЕДИНЕНИЕ ТРУБЫ (ДЛЯ США)(№-) ОПЦИОННЫЕ КОМПОНЕНТЫ

Схема запчастей Komatsu PC120-2 - КЛАПАН TO/FROM ПОВОРОТНОЕ СОЕДИНЕНИЕ ТРУБЫ (ДЛЯ США)(№-) ОПЦИОННЫЕ КОМПОНЕНТЫ
FIT
1:1
100%

Артикул

Название

Примечание

Количество

1

203-62-33570

TUBE

2

203-62-33580

TUBE

3

203-62-11410

NIPPLE

4

07002-12434

O-RING

5

203-62-33590

TUBE

6

203-62-33610

TUBE

7

07230-10628

UNION

8

07002-12434

O-RING

9

07123-00605

HOSE

10

07230-10628

UNION

11

07002-12434

O-RING

12

01010-31240

BOLT

13

01643-31232

WASHER

14

201-60-11240

LINK

15

201-60-11230

PIN

16

01641-01626

WASHER

17

04050-04025

PIN,COTTER

18

07371-30638

FLANGE,SPLIT

19

07372-20830

BOLT

20

01602-20825

WASHER,SPRING

21

07000-13025

O-RING

22

203-62-33620

TUBE

23

203-62-33630

BLOCK

24

01010-51230

BOLT

25

01602-21236

WASHER,SPRING

Выбрано товаров: 0