Запчасти Komatsu PC120-2 КАБИНА (7/7) (ДЛЯ США)(№-) ОПЦИОННЫЕ КОМПОНЕНТЫ

Схема запчастей Komatsu PC120-2 - КАБИНА (7/7) (ДЛЯ США)(№-) ОПЦИОННЫЕ КОМПОНЕНТЫ
FIT
1:1
100%

Артикул

Название

Примечание

Количество

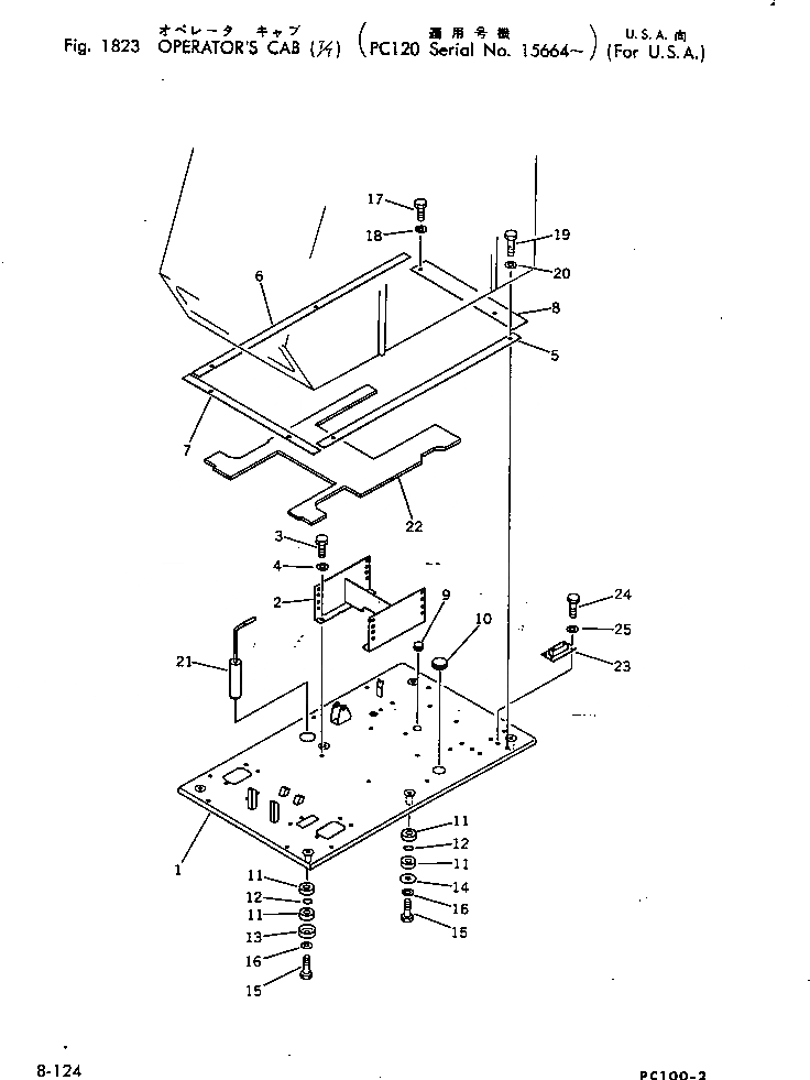
1

203-54-33540

FRAME,FLOOR

2

203-54-31490

BRACKET

3

01010-31230

BOLT

4

01643-31232

WASHER

5

20D-54-13380

SHEET

6

20D-54-13390

SHEET

7

20D-54-13360

SHEET

8

20D-54-13370

SHEET

9

09415-02520

CAP

10

09415-05016

CAP

11

203-54-21110

CUSHION

12

07000-03025

O-RING

13

201-54-21860

COLLAR

14

205-54-51950

PLATE

15

01010-31675

BOLT

16

01643-31645

WASHER

17

01010-31230

BOLT

18

01643-31232

WASHER

19

01010-31270

BOLT

20

01643-31232

WASHER

21

203-54-31251

PIN,SWING LOCK

22

203-54-33550

MAT,FLOOR

23

203-54-33590

BRACKET

24

01010-51025

BOLT

25

01643-31032

WASHER

Выбрано товаров: 25