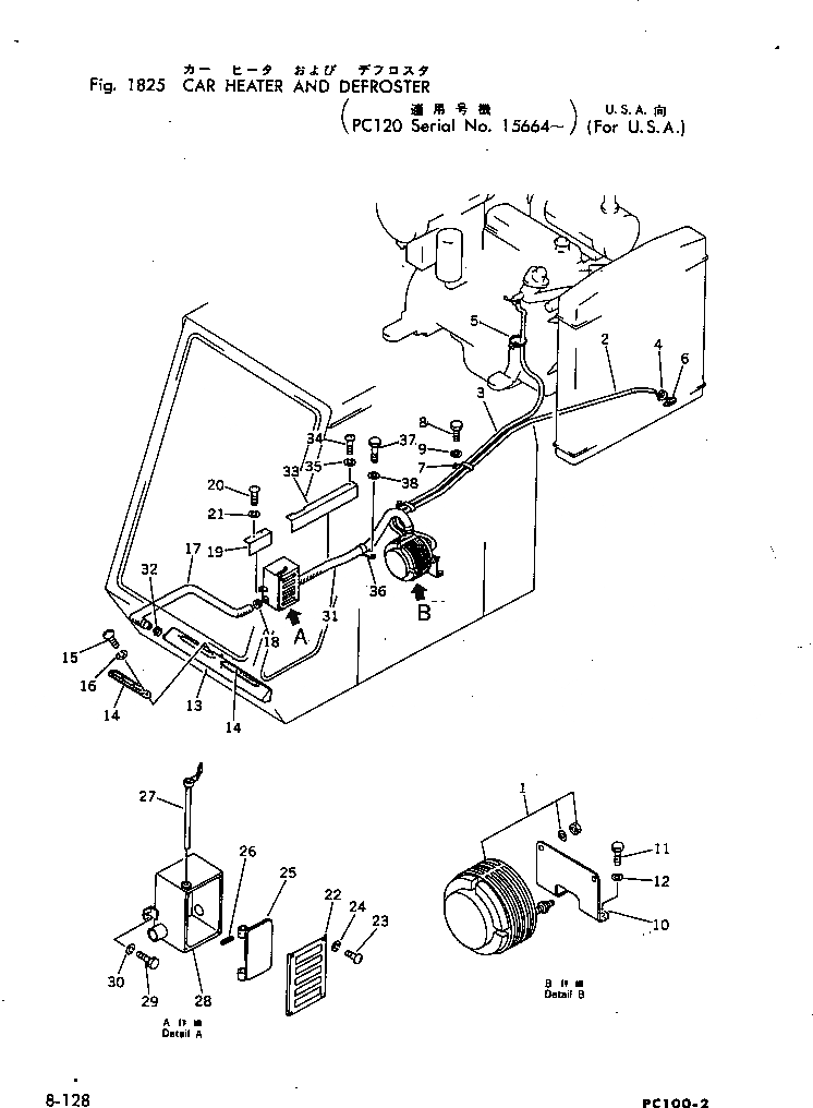
Запчасти Komatsu PC120-2 ОБОГРЕВАТЕЛЬ. И АНТИОБЛЕДЕНИТЕЛЬ (ДЛЯ США)(№-) ОПЦИОННЫЕ КОМПОНЕНТЫ

Схема запчастей Komatsu PC120-2 - ОБОГРЕВАТЕЛЬ. И АНТИОБЛЕДЕНИТЕЛЬ (ДЛЯ США)(№-) ОПЦИОННЫЕ КОМПОНЕНТЫ
FIT
1:1
100%

Артикул

Название

Примечание

Количество

1

09480-02400

HEATER

2

09483-00422

HOSE

3

09483-00421

HOSE

4

07281-00259

CLAMP

5

08034-00536

BAND

6

202-981-1340

JOINT

7

154-06-13780

CLAMP

8

01010-51025

BOLT

9

01643-31032

WASHER

10

203-54-33270

BRACKET

11

01010-51230

BOLT

12

01643-31232

WASHER

13

203-977-3350

DUCT

14

09487-10220

NOZZLE

15

01220-40412

SCREW

16

01602-00410

WASHER,SPRING

17

09485-03707

HOSE

18

07281-00419

CLAMP

19

203-977-3370

COVER

20

01220-40412

SCREW

21

01602-00410

WASHER,SPRING

22

203-977-3320

COVER

23

01220-40308

SCREW

24

01601-20307

WASHER,SPRING

25

203-977-3330

COVER

26

04025-00424

PIN

27

203-977-3340

LEVER

28

203-977-3310

COVER

29

01010-50825

BOLT

30

01602-20825

WASHER,SPRING

31

09485-03710

HOSE

32

07281-00419

CLAMP

33

203-977-3360

COVER

34

01220-40412

SCREW

35

01601-20410

WASHER,SPRING

36

480-03-14270

CLAMP

37

01010-51220

BOLT

38

01643-31232

WASHER

Выбрано товаров: 38